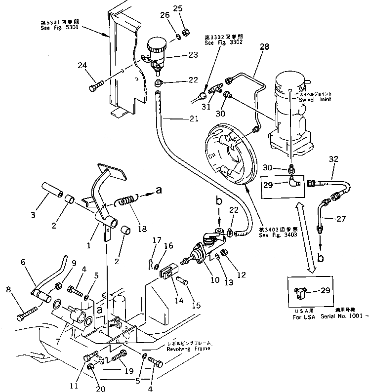
Запчасти Komatsu PW05-1 ПЕДАЛЬ ТОРМОЗА И ТРУБЫ МОСТ¤ КОЛЕСА И СИСТЕМАУПРАВЛЕНИЯ ПОВОРОТОМ

Схема запчастей Komatsu PW05-1 - ПЕДАЛЬ ТОРМОЗА И ТРУБЫ МОСТ¤ КОЛЕСА И СИСТЕМАУПРАВЛЕНИЯ ПОВОРОТОМ
FIT
1:1
100%

Артикул

Название

Примечание

Количество

1

20L-42-13111

PEDAL

2

09350-02020

BUSHING

3

20L-42-13120

SHAFT

4

01010-50820

BOLT

5

01602-20825

WASHER,SPRING

6

20L-42-13251

LEVER

7

WB8710-42130

WASHER

8

01016-51060

BOLT

9

01580-11008

NUT

10

20L-42-13500

MASTER CYLINDER A.

10

20L-42-13800

REPAIR KIT,(NOT SHOWN)

11

01010-50830

BOLT

12

01580-10806

NUT

13

01602-20825

WASHER,SPRING

14

20L-42-13130

YOKE

15

04205-31030

PIN

16

01641-21016

WASHER

17

04052-01038

PIN,SNAP

18

20L-42-13140

SPRING

19

01016-50840

BOLT

20

01580-10806

NUT

21

20L-42-13211

HOSE

22

07281-00167

CLAMP

23

20L-42-13190

TANK ASS'Y

24

01010-50616

BOLT

25

01580-10605

NUT

26

01602-20619

WASHER,SPRING

27

20L-42-13152

TUBE

28

20L-42-13180

TUBE

29

20L-42-13240

ELBOW

29

20L-42-16240

ELBOW,(FOR USA)

30

07326-10201

ADAPTER

31

07218-50510

TEE

32

20L-42-13230

HOSE

Выбрано товаров: 34