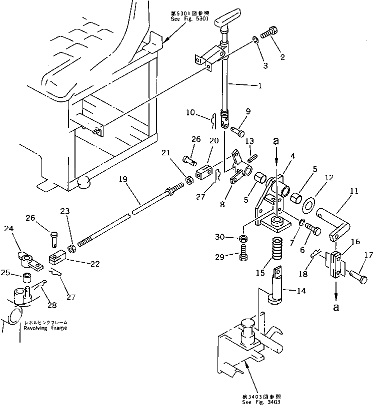
Запчасти Komatsu PW05-1 РЫЧАГ СТОЯНОЧНОГО ТОРМОЗА МОСТ¤ КОЛЕСА И СИСТЕМАУПРАВЛЕНИЯ ПОВОРОТОМ

Схема запчастей Komatsu PW05-1 - РЫЧАГ СТОЯНОЧНОГО ТОРМОЗА МОСТ¤ КОЛЕСА И СИСТЕМАУПРАВЛЕНИЯ ПОВОРОТОМ
FIT
1:1
100%

Артикул

Название

Примечание

Количество

1

20L-42-12110

PARKING BRAKE ASS'Y

2

01010-50820

BOLT

3

01602-20825

WASHER,SPRING

4

20L-42-12141

BRACKET

5

09350-02020

BUSHING

6

01010-50820

BOLT

7

01602-20825

WASHER,SPRING

8

20L-42-12330

LEVER

9

04205-30822

PIN

10

04052-10833

PIN,SNAP

11

20L-42-12130

LEVER

12

01640-22032

WASHER

13

04025-00632

PIN,SPRING

14

20L-42-12162

ROD

15

20L-42-12150

SPRING

16

04213-21040

YOKE

17

04205-31030

PIN

18

04052-11038

PIN,SNAP

19

04248-30841

ROD

20

04211-20844

YOKE

21

01580-10806

NUT

22

04221-20844

YOKE,L.H. THREAD

23

01580-20805

NUT,R.H. THREAD

24

20L-42-12340

LEVER

25

09350-01620

BUSHING

26

04205-30825

PIN

27

04052-10833

PIN,SNAP

28

04052-11664

PIN,SNAP

29

01016-50840

BOLT

30

01580-20806

NUT

Выбрано товаров: 30