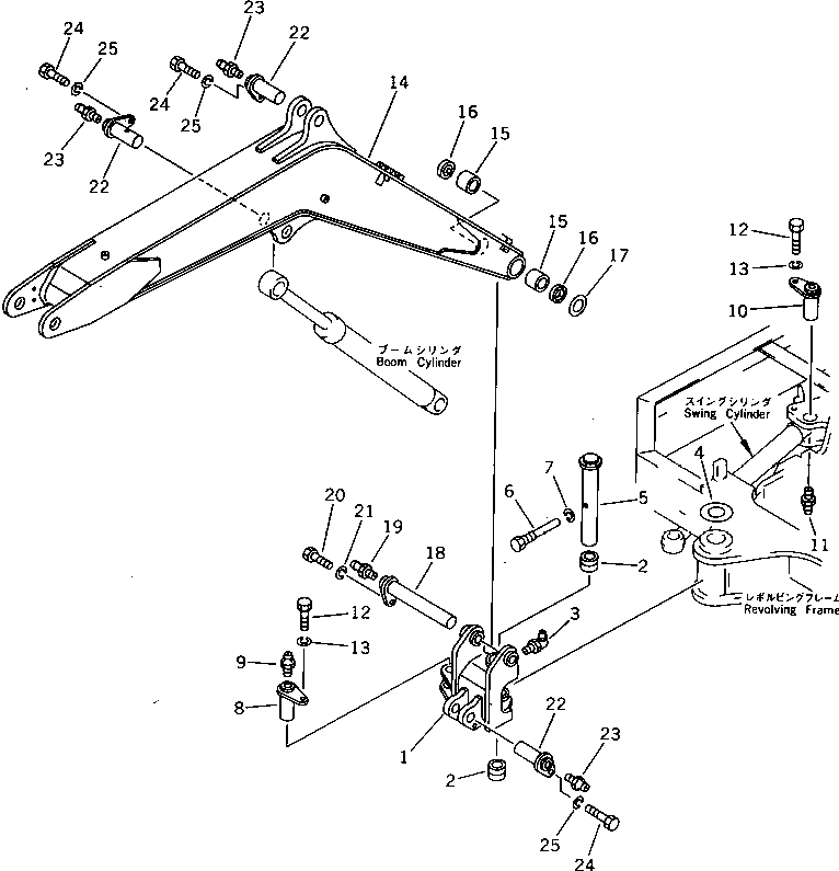
Запчасти Komatsu PW05-1 ПОВОРОТН. БЛОК И СТРЕЛА РАБОЧЕЕ ОБОРУДОВАНИЕ

Схема запчастей Komatsu PW05-1 - ПОВОРОТН. БЛОК И СТРЕЛА РАБОЧЕЕ ОБОРУДОВАНИЕ
FIT
1:1
100%

Артикул

Название

Примечание

Количество

|$0

20M-70-34100

SWING BRACKET ASS'Y

1

BRACKET

2

07144-10404

BUSHING

3

07020-00900

FITTING,GREASE

4

20M-70-14120

PLATE

5

20M-70-34130

PIN

6

20M-70-34150

BOLT

7

01602-21236

WASHER,SPRING

8

20M-70-34160

PIN

9

07020-00000

FITTING,GREASE

10

20M-70-14150

PIN

11

07020-00000

FITTING,GREASE

12

01010-51020

BOLT

13

01602-21030

WASHER,SPRING

|$14

20M-70-31011

BOOM ASS'Y

14

BOOM

15

07143-10303

BUSHING

16

07145-00030

SEAL,DUST

17

20N-70-11280

SPACER, 1.0MM

18

20M-70-11210

PIN

19

07020-00000

FITTING,GREASE

20

01010-51020

BOLT

21

01602-21030

WASHER,SPRING

22

20M-70-11231

PIN

23

07020-00000

FITTING,GREASE

24

01010-51020

BOLT

25

01602-21030

WASHER,SPRING

Выбрано товаров: 27