Запчасти Komatsu PW100-1 ВОЗДУХОВОД (7/7)¤ СИСТЕМА УПРАВЛЕНИЯ УПРАВЛ-Е РАБОЧИМ ОБОРУДОВАНИЕМ

Схема запчастей Komatsu PW100-1 - ВОЗДУХОВОД (7/7)¤ СИСТЕМА УПРАВЛЕНИЯ УПРАВЛ-Е РАБОЧИМ ОБОРУДОВАНИЕМ
FIT
1:1
100%

Артикул

Название

Примечание

Количество

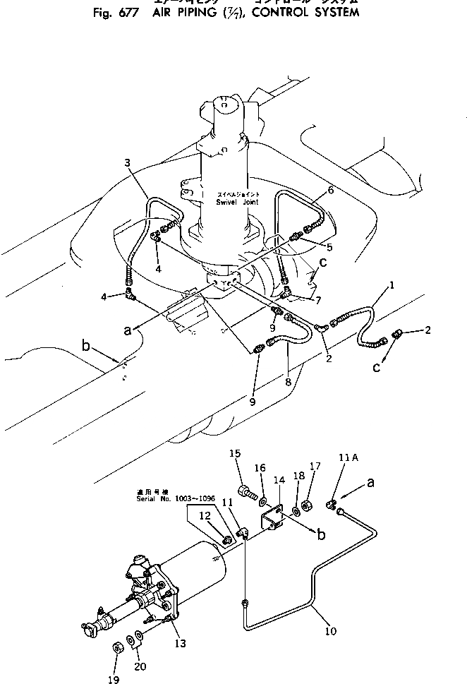
1

20D-68-11750

HOSE

2

281-35-13290

ELBOW

3

20D-68-11750

HOSE

4

281-35-13290

ELBOW

5

482-60-34430

NIPPLE

6

20D-68-11750

HOSE

7

281-35-13290

ELBOW

8

20D-68-12680

HOSE

9

482-60-34430

NIPPLE

10

20D-68-12652

TUBE

10

20D-68-12651

TUBE

11

20D-68-12940

ELBOW

11

07217-51013

ELBOW

11A

234-975-4810

ELBOW

11A

07217-51013

ELBOW

12

07326-00302

ADAPTER

13

20D-68-12101

AIR MASTER ASS'Y

14

20D-68-12513

BRACKET

14

20D-68-12512

BRACKET

15

01010-31025

BOLT

16

01643-31032

WASHER

17

01582-01008

NUT

18

01643-31032

WASHER

19

01582-01008

NUT

20

01643-31032

WASHER

Выбрано товаров: 25