Качественные детали и логистика
Оригинальные и аналоговые запчасти с доставкой по России, Казахстану и Беларуси
©2022 PartSell ООО "Система" ИНН 2463123282 ОГРН 1212400004838
Центральный офис: г. Красноярск, Академика Киренского, д.87, пом.4
Телефон: 8 (800) 777-65-74 Email: zakaz@partsell.ru
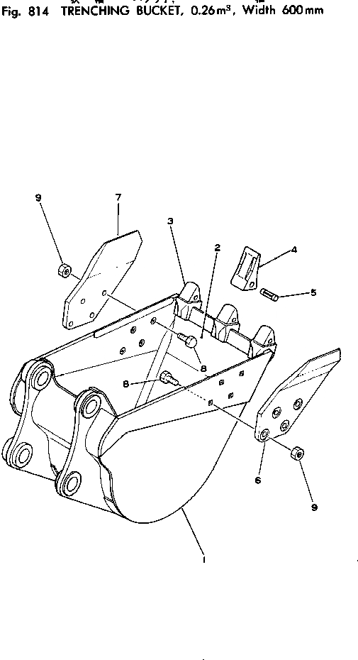
TRENCHING КОВШ¤ .M¤ ШИР. MM
№
Артикул
Название
Примечание
Количество
|$0
203-926-0070
BUCKET ASS'Y,0.26M3 WIDTH 600MM
1
203-926-3210
BUCKET
2
203-926-3220
PLATE (WELDED)
3
202-70-12140
ADAPTER (WELDED)
4
202-70-12130
TOOTH
5
09244-02489
PIN
6
203-70-34210
CUTTER,L.H.
7
203-70-34220
CUTTER,R.H.
8
01802-02262
BOLT
9
01803-02228
NUT
Выбрано товаров: 0