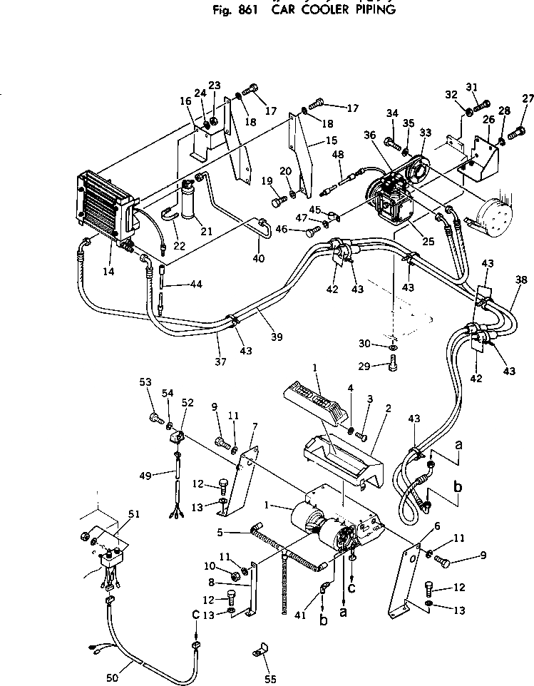
Запчасти Komatsu PW100-1 CAR ЛИНИЯ ОХЛАЖДЕНИЯ ОПЦИОННЫЕ КОМПОНЕНТЫ

Схема запчастей Komatsu PW100-1 - CAR ЛИНИЯ ОХЛАЖДЕНИЯ ОПЦИОННЫЕ КОМПОНЕНТЫ
FIT
1:1
100%

Артикул

Название

Примечание

Количество

1

205-981-5110

COOLING UNIT

2

20D-981-1250

DUCT

3

01370-00408

SCREW

4

01611-04045

WASHER

5

205-981-5170

HOSE,DRAIN

6

20D-981-1230

BRACKET,L.H.

7

20D-981-1220

BRACKET,R.H.

8

20D-981-1241

BRACKET

9

01010-30825

BOLT

10

01580-00806

NUT

11

01602-00825

WASHER,SPRING

12

01010-31225

BOLT

13

01643-31232

WASHER

14

205-981-5120

CONDENSER UNIT

15

20D-978-1120

BRACKET

16

20D-978-1110

BRACKET

17

01010-30825

BOLT

18

01602-00825

WASHER,SPRING

19

01010-31225

BOLT

20

01643-31232

WASHER

21

566-07-11240

RECEIVER

22

07283-26155

CLIP

23

01599-01011

NUT

24

01643-31032

WASHER

25

205-981-5130

COMPRESSOR ASS'Y

26

20D-981-1210

BRACKET

27

01010-30820

BOLT

28

01602-00825

WASHER,SPRING

29

01010-31025

BOLT

30

01643-31032

WASHER

31

01016-31060

BOLT

32

01580-01008

NUT

33

203-978-3141

PULLEY

34

01010-30840

BOLT

35

01602-00825

WASHER,SPRING

36

04120-21741

V-BELT

37

20D-978-1140

HOSE

38

20D-978-1150

HOSE

39

20D-978-1160

HOSE

40

20D-978-1130

TUBE

41

205-981-5250

ELBOW

42

203-977-3110

COVER

43

08034-00536

BAND

44

20D-978-1170

WIRE ASS'Y

45

08036-10810

CLIP

46

01010-30816

BOLT

47

01602-00825

WASHER,SPRING

48

20D-978-1170

WIRE ASS'Y

49

203-981-2150

WIRE ASS'Y

50

203-981-2160

WIRE ASS'Y

51

205-981-5150

PANEL ASS'Y

52

205-981-5160

RELAY

53

01010-30610

BOLT

54

01602-00619

WASHER,SPRING

55

20D-981-1150

PLATE

Выбрано товаров: 55