Запчасти Komatsu PW100-1 ОПОРА ОПЦИОННЫЕ КОМПОНЕНТЫ

Схема запчастей Komatsu PW100-1 - ОПОРА ОПЦИОННЫЕ КОМПОНЕНТЫ
FIT
1:1
100%

Артикул

Название

Примечание

Количество

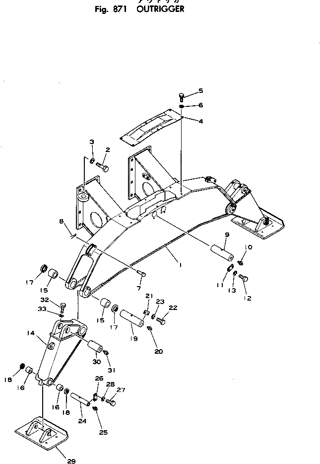
1

20D-47-21112

FRAME

2

01010-32060

BOLT

3

01643-32060

WASHER

4

20D-47-11390

COVER

5

01010-31020

BOLT

6

01643-31032

WASHER

7

04205-01658

PIN

8

04052-01664

PIN,SNAP

9

20D-47-21270

PIN

10

07020-00000

FITTING,GREASE

11

04082-00212

LOCK,PLATE

12

01010-31225

BOLT

13

01602-01236

WASHER,SPRING

14

20D-47-21121

FRAME

15

203-70-31240

BUSHING

16

20D-47-21180

BUSHING

17

07145-00060

SEAL,DUST

18

07145-00040

SEAL,DUST

19

20D-47-21280

PIN

20

07020-00000

FITTING,GREASE

21

04082-00212

LOCK,PLATE

22

01010-31225

BOLT

23

01602-01236

WASHER,SPRING

24

20D-47-21140

PIN

25

07020-00000

FITTING,SPRING

26

04082-00212

LOCK,PLATE

27

01010-31225

BOLT

28

01602-01236

WASHER,SPRING

29

20D-47-21131

BRACKET

30

20D-47-21220

PIN

31

07020-00000

FITTING,GREASE

32

01011-31200

BOLT

33

01643-31232

WASHER

Выбрано товаров: 33