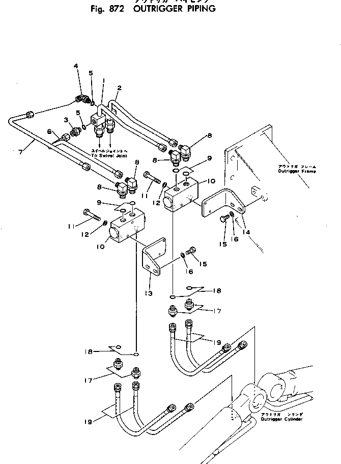
Запчасти Komatsu PW100-1 ОПОРА ТРУБЫ ОПЦИОННЫЕ КОМПОНЕНТЫ

Схема запчастей Komatsu PW100-1 - ОПОРА ТРУБЫ ОПЦИОННЫЕ КОМПОНЕНТЫ
FIT
1:1
100%

Артикул

Название

Примечание

Количество

1

20D-62-21112

TUBE

2

20D-62-21122

TUBE

3

07230-10315

UNION

4

07235-10315

ELBOW

5

07002-12034

O-RING

6

20D-62-21141

TUBE

7

20D-62-21151

TUBE

8

20R-62-11440

ELBOW

9

07002-12434

O-RING

10

20D-62-11900

CHECK VALVE ASS'Y

11

01010-30870

BOLT

12

01643-30823

WASHER

13

20D-62-21680

BRACKET,L.H.

14

20D-62-21690

BRACKET,R.H.

15

01010-31230

BOLT

16

01643-31232

WASHER

17

20T-910-1420

NIPPLE

18

07002-12434

O-RING

19

07121-00306

HOSE

Выбрано товаров: 19