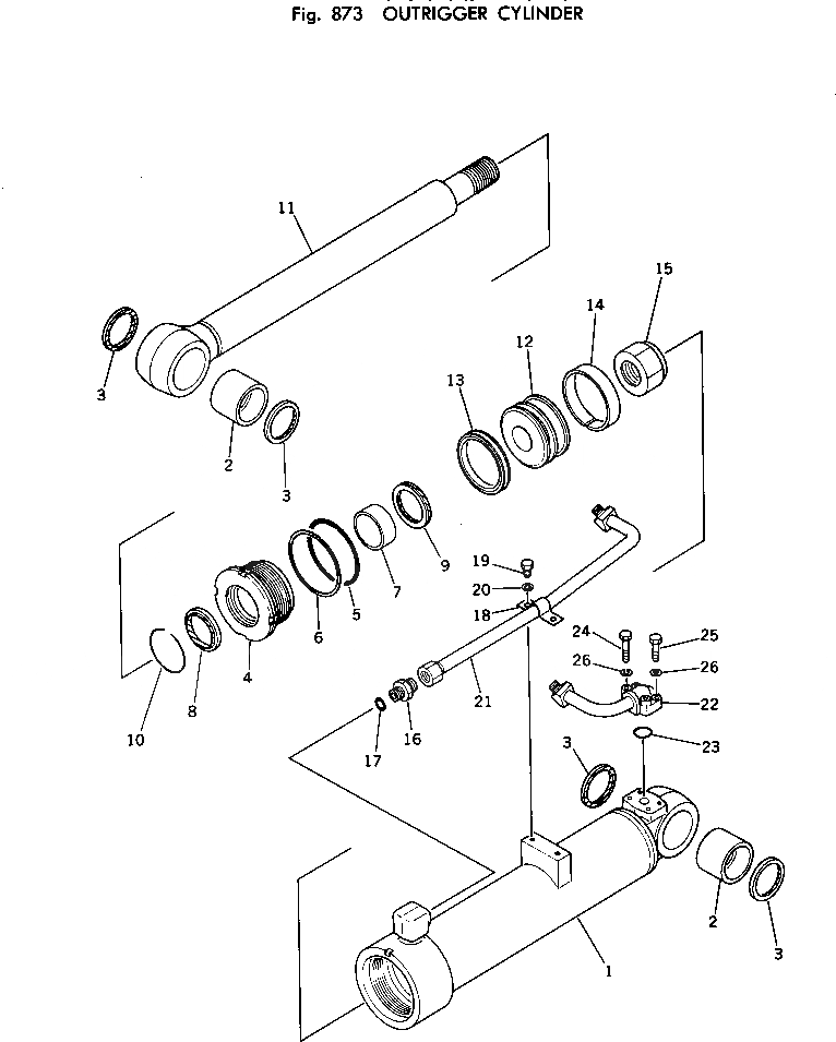
Запчасти Komatsu PW100-1 ЦИЛИНДР ОПОРЫ ОПЦИОННЫЕ КОМПОНЕНТЫ

Схема запчастей Komatsu PW100-1 - ЦИЛИНДР ОПОРЫ ОПЦИОННЫЕ КОМПОНЕНТЫ
FIT
1:1
100%

Артикул

Название

Примечание

Количество

|$0

20D-63-12700

CYLINDER ASS'Y,L.H.

|$1

20D-63-12800

CYLINDER ASS'Y,R.H.

1

20D-63-12740

CYLINDER

2

07143-10606

BUSHING

3

07145-00060

SEAL

4

707-29-11490

HEAD,CYLINDER

5

07000-12115

O-RING

6

20D-63-32290

RING,BACK-UP

7

07177-06530

BUSHING

8

144-63-92170

SEAL

9

707-51-65211

PACKING,ROD

10

07179-00088

RING,SNAP

11

20D-63-12720

ROD,PISTON

12

707-36-11590

PISTON

13

707-44-11080

RING,PISTON

14

07155-01125

RING

15

07165-14547

NUT

16

07230-10522

UNION

17

07002-12434

O-RING

18

07282-02288

CLAMP

19

01010-51020

BOLT

20

01643-31032

WASHER

21

20D-62-21273

TUBE,L.H.

21

20D-62-21261

TUBE,R.H.

22

20D-62-21251

TUBE,L.H.

22

20D-62-21283

TUBE,R.H.

23

07000-13025

O-RING

24

01010-50845

BOLT

25

01010-50835

BOLT

26

01602-20825

WASHER,SPRING

Выбрано товаров: 30