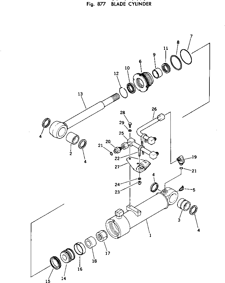
Запчасти Komatsu PW100-1 ЦИЛИНДР ОТВАЛА ОПЦИОННЫЕ КОМПОНЕНТЫ

Схема запчастей Komatsu PW100-1 - ЦИЛИНДР ОТВАЛА ОПЦИОННЫЕ КОМПОНЕНТЫ
FIT
1:1
100%

Артикул

Название

Примечание

Количество

|$0

20D-63-96300

CYLINDER ASS'Y,L.H.

|$1

20D-63-96400

CYLINDER ASS'Y,R.H.

1

20D-63-96340

CYLINDER

2

07143-10505

BUSHING

3

07144-10505

BUSHING

4

07145-00050

SEAL

5

07020-00900

FITTING,GREASE

6

707-29-90291

HEAD,CYLINDER

7

07000-12095

O-RING

8

07001-02095

RING,BACK-UP

9

07177-05030

BUSHING

10

176-63-92240

SEAL

11

707-51-50211

PACKING,ROD

12

07179-00069

RING,SNAP

13

20D-63-96320

ROD

14

707-36-90280

PISTON

15

707-44-90080

RING,PISTON

16

07155-00925

RING

17

07165-13638

NUT

18

707-88-10160

COLLAR

19

07235-10422

ELBOW

20

07230-10422

UNION

21

07002-12034

O-RING

22

07283-22244

CLIP

23

01599-01011

NUT

24

01643-31032

WASHER

25

20D-910-2130

TUBE

26

20D-910-2240

TUBE

27

20D-910-2210

BRACKET,L.H.

27

20D-910-2220

BRACKET,R.H.

28

01010-51020

BOLT

29

01643-31032

WASHER

Выбрано товаров: 32