Запчасти Komatsu PW100-1 ЭЛЕКТРИКА (/) КОМПОНЕНТЫ ДВИГАТЕЛЯ И ЭЛЕКТРИКА

Схема запчастей Komatsu PW100-1 - ЭЛЕКТРИКА (/) КОМПОНЕНТЫ ДВИГАТЕЛЯ И ЭЛЕКТРИКА
FIT
1:1
100%

Артикул

Название

Примечание

Количество

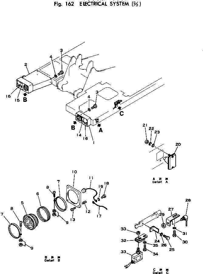
1

20D-06-12420

BRACKET

2

20D-06-12410

BRACKET

3

01010-31230

BOLT

4

01643-31232

WASHER

|$4

20D-06-12300

LAMP ASS'Y

5

381-985652-1

BULB

6

08128-00003

HOLDER

7

08128-00004

BAND

8

01220-40420

SCREW

9

01580-10403

NUT

10

203-06-31340

BASE

11

20D-06-12310

SOCKET ASS'Y

12

175-06-23210

SPRING

13

131-06-43230

SCREW

14

08130-62400

LAMP ASS'Y,COMBINATION, L.H.

15

08130-82400

LAMP ASS'Y,COMBINATION, R.H.

15

08105-12420

BULB, 25W

15

08110-12410

BULB, 12W

15

08130-60007

LENS,AMBER AND ACHROMATIC

15

08130-60008

LENS,AMBER

16

08139-02400

LAMP,PARKING

16

08102-02403

BULB, 3W

16

08139-00009

LENS

17

20B-06-11320

WIRE

18

01010-30812

BOLT

19

01602-00825

WASHER,SPRING

20

20D-06-12430

LAMP ASS'Y,TURN SIGNAL

20

08102-02403

BULB, 3W

21

01580-00403

NUT

22

01601-00410

WASHER,SPRING

23

01641-00405

WASHER

24

20D-06-12520

PLATE

25

01010-30616

BOLT

26

01643-30623

WASHER

27

20D-06-12510

PLATE

28

08074-40000

SWITCH,BACK-UP LAMP

29

01583-01811

NUT

30

01010-31230

BOLT

31

01643-31232

WASHER

32

20D-06-12530

BRACKET

33

113-06-23250

SWITCH

34

01010-31230

BOLT

35

01643-31232

WASHER

Выбрано товаров: 43