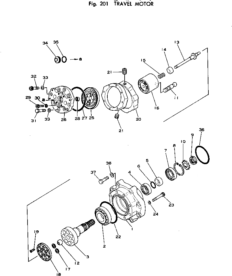
Запчасти Komatsu PW100-1 МОТОР ХОДА ХОД И ТРАНСМИССИЯ

Схема запчастей Komatsu PW100-1 - МОТОР ХОДА ХОД И ТРАНСМИССИЯ
FIT
1:1
100%

Артикул

Название

Примечание

Количество

|$0

706-75-00600

TRAVEL MOTOR ASS'Y

|$1

706-75-42003

MOTOR ASS'Y,KMF090

1

COVER,FRONT

2

BEARING

3

SHAFT,DRIVE

4

BEARING

5

RING

6

O-RING

7

SEAL,OIL

8

RING,SNAP

9

NUT

10

WASHER,LOCK

11

PISTON ASS'Y

12

BALL,CENTER

13

SHAFT,CENTER

14

RING,CENTER

15

SPRING

16

BLOCK,CYLINDER

17

HOLDER

18

RETAINER

19

SCREW

20

PLATE

21

706-73-40360

PLUG

22

O-RING

23

BOLT

24

WASHER,SPRING

25

PLATE,VALVE

26

COVER,END

27

O-RING

28

BEARING

29

BOLT

30

GASKET

31

BOLT

32

BOLT

33

WASHER,SPRING

34

706-75-40830

CAP

35

07000-03035

O-RING

36

07000-02105

O-RING

37

01010-31490

BOLT

38

01602-01442

WASHER,SPRING

Выбрано товаров: 40