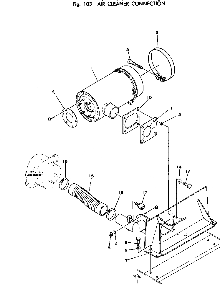
Запчасти Komatsu PW100-1 ВОЗДУХООЧИСТИТЕЛЬ СОЕДИН-Е КОМПОНЕНТЫ ДВИГАТЕЛЯ И ЭЛЕКТРИКА

Схема запчастей Komatsu PW100-1 - ВОЗДУХООЧИСТИТЕЛЬ СОЕДИН-Е КОМПОНЕНТЫ ДВИГАТЕЛЯ И ЭЛЕКТРИКА
FIT
1:1
100%

Артикул

Название

Примечание

Количество

1

6131-82-7102

AIR CLEANER ASS'Y

2

6131-11-4520

BAND ASS'Y

3

6643-11-4641

BOLT

4

6110-11-4430

GASKET

5

01580-00806

NUT

6

01643-30823

WASHER

7

20D-01-12170

BRACKET

8

01010-31230

BOLT

9

01643-31232

WASHER

10

20D-01-12190

PLATE

11

20D-01-12180

SHEET

12

01641-01223

WASHER

13

01010-31230

BOLT

14

01643-31232

WASHER

15

20D-01-12122

HOSE

16

07281-00909

CLAMP,HOSE

17

08670-50635

INDICATOR,DUST

Выбрано товаров: 17