Запчасти Komatsu PW100-1 ПЕРЕДН. И ЗАДН. ТОРМОЗ. МОСТ¤ КОЛЕСА И СИСТЕМАУПРАВЛЕНИЯ ПОВОРОТОМ

Схема запчастей Komatsu PW100-1 - ПЕРЕДН. И ЗАДН. ТОРМОЗ. МОСТ¤ КОЛЕСА И СИСТЕМАУПРАВЛЕНИЯ ПОВОРОТОМ
FIT
1:1
100%

Артикул

Название

Примечание

Количество

|$0

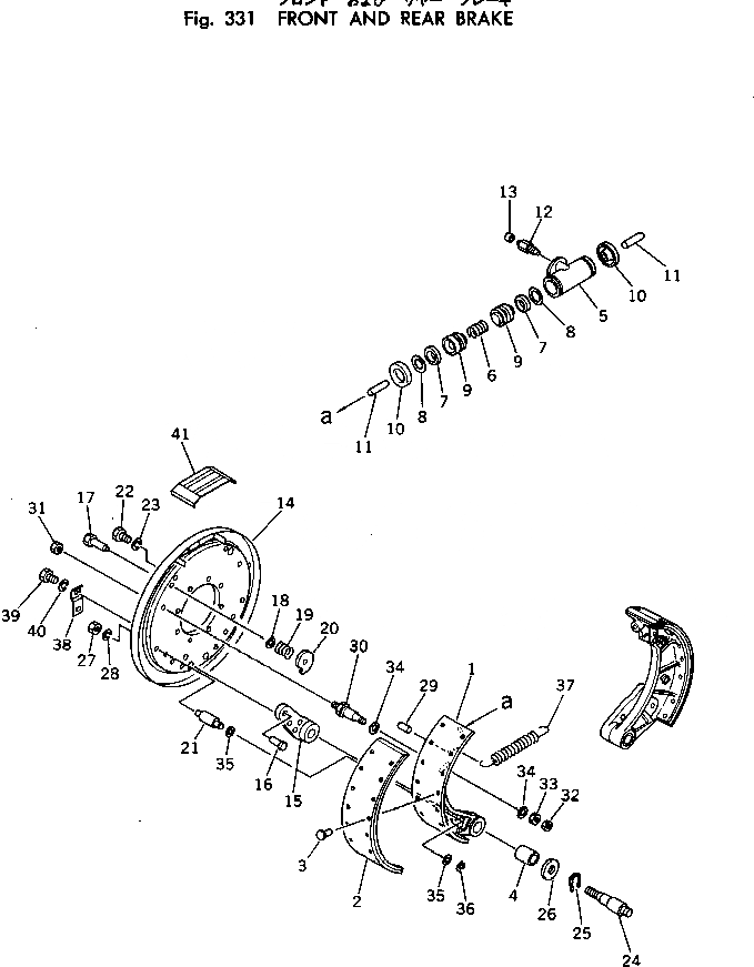
20D-27-11300

WHEEL BRAKE ASS'Y

|$1

20D-27-11320

BRAKE SHOE ASS'Y

1

SHOE,BRAKE

2

20D-27-14250

LINING

2

20D-27-14250

LINING

3

20D-27-14140

RIVET

4

20D-27-14110

BUSHING

|$7

20D-27-11310

CYLINDER ASS'Y

5

BODY

6

SPRING

7

CUP,PISTON (KIT)

8

RING,BACK-UP (KIT)

9

PISTON (KIT)

10

BOOT (KIT)

11

ROD,PUSH

12

BREATHER

13

CAP

|$17

20D-27-14500

COVER ASS'Y

14

COVER

15

BRACKET

16

RIVET

17

SPINDLE

18

WASHER

19

SPRING

20

CAM

21

PIN

22

20D-27-14270

BOLT

23

20D-27-14330

WASHER,SPRING

24

20D-27-14160

PIN

25

20D-27-14170

CLIP

26

20D-27-14260

PLATE

27

20D-27-14280

NUT

28

20D-27-14340

WASHER,SPRING

29

20D-27-14150

PIN

30

20D-27-14180

PIN

31

20D-27-14290

NUT

32

20D-27-14310

NUT

33

20D-27-14190

NUT

34

20D-27-14130

WASHER

35

20D-27-14130

WASHER

36

20D-27-14120

CLIP

37

20D-27-14240

SPRING

38

20D-27-14220

COVER

39

20D-27-14230

BOLT

40

20D-27-14320

WASHER,SPRING

41

20D-27-14210

COVER

7

20D-27-14400

REPAIR KIT

7

CUP,PISTON

8

RING,BACK-UP

9

PISTON

10

BOOT

Выбрано товаров: 51