Запчасти Komatsu PW100-1 ТОРМОЗНАЯ ГИДРОЛИНИЯ(№97-) МОСТ¤ КОЛЕСА И СИСТЕМАУПРАВЛЕНИЯ ПОВОРОТОМ

Схема запчастей Komatsu PW100-1 - ТОРМОЗНАЯ ГИДРОЛИНИЯ(№97-) МОСТ¤ КОЛЕСА И СИСТЕМАУПРАВЛЕНИЯ ПОВОРОТОМ
FIT
1:1
100%

Артикул

Название

Примечание

Количество

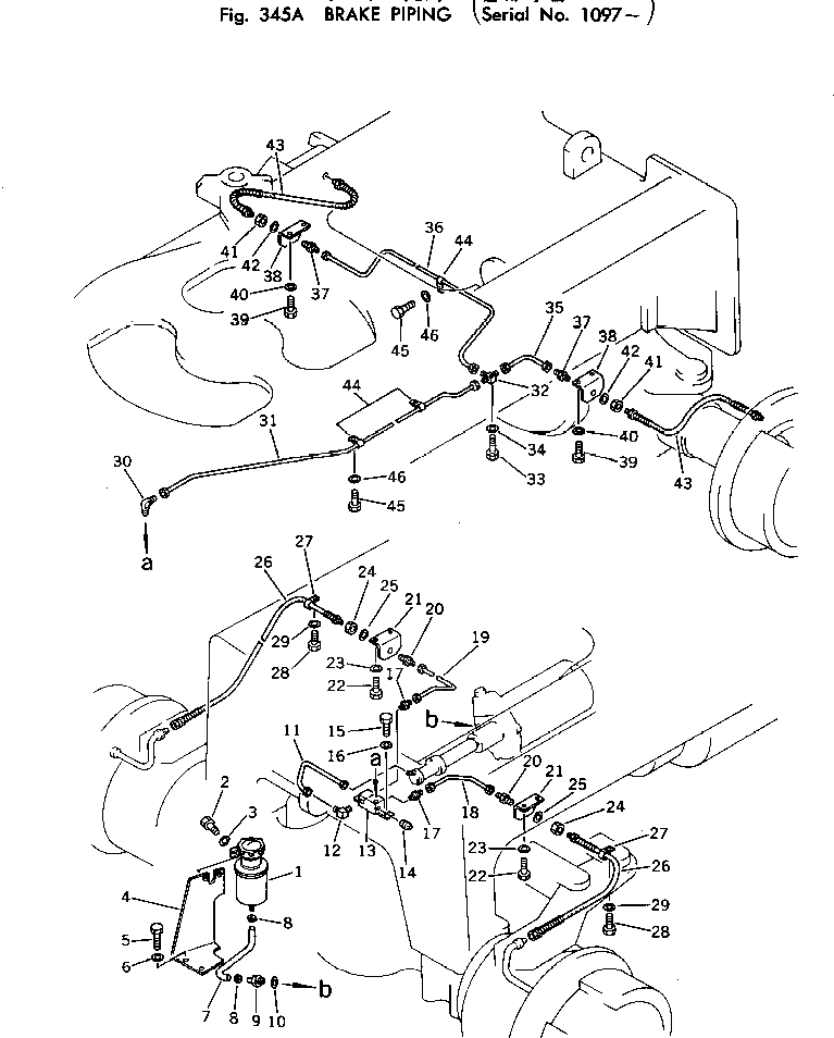
1

20D-68-12690

TANK,BRAKE OIL

2

01010-30610

BOLT

3

01643-30623

WASHER

4

20D-68-12464

BRACKET

4

20D-68-12463

BRACKET

5

01010-31025

BOLT

6

01643-31032

WASHER

7

20D-68-12590

TUBE

8

07281-00197

CLAMP,HOSE

9

20D-68-12120

CONNECTOR

10

20D-68-12130

GASKET

11

20D-68-12712

TUBE

12

234-975-4810

ELBOW

13

20D-68-12423

BLOCK

13

20D-68-12422

BLOCK

14

07042-30108

PLUG

15

01010-31025

BOLT

16

01643-31032

WASHER

17

482-60-34430

NIPPLE

18

20D-68-12315

TUBE,L.H.

19

20D-68-12325

TUBE,R.H.

20

20D-68-12960

NIPPLE

21

20D-68-12433

BRACKET

22

01010-31025

BOLT

23

01643-31032

WASHER

24

01583-11610

NUT

25

01641-21626

WASHER

26

20D-68-12362

HOSE

27

08036-01814

CLIP

28

01010-31025

BOLT

29

01643-31032

WASHER

30

281-35-13290

ELBOW

31

20D-68-12671

TUBE

32

20D-68-12950

TEE

33

01010-30830

BOLT

34

01643-30823

WASHER

35

20D-68-12413

TUBE,L.H.

36

20D-68-12393

TUBE,R.H.

37

20D-68-12960

NIPPLE

38

20D-68-12433

BRACKET

39

01010-31025

BOLT

40

01643-31032

WASHER

41

01583-11610

NUT

42

01641-21626

WASHER

43

20D-68-12362

HOSE

44

20D-68-12930

CLIP

45

01010-31025

BOLT

46

01643-31032

WASHER

Выбрано товаров: 0