Запчасти Komatsu PW100-1 ШАССИ (/) ШАССИ И ПОВОРОТН. СИСТЕМА

Схема запчастей Komatsu PW100-1 - ШАССИ (/) ШАССИ И ПОВОРОТН. СИСТЕМА
FIT
1:1
100%

Артикул

Название

Примечание

Количество

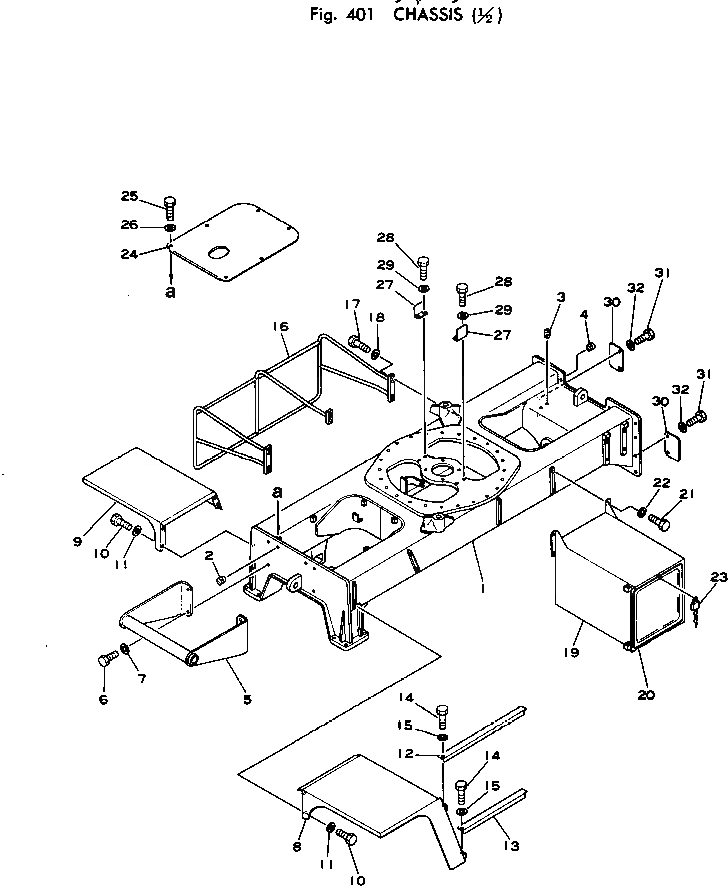
1

20D-47-11113

FRAME

1

20D-47-11112

FRAME

2

07049-02430

PLUG

3

07049-01012

PLUG

4

07049-02025

PLUG

5

20D-47-11152

BRACKET

6

01010-32450

BOLT

7

01643-32460

WASHER

8

20D-47-11182

FENDER,L.H.

9

20D-47-11420

FENDER,R.H.

10

01010-31025

BOLT

11

01643-31032

WASHER

12

20D-47-11290

PLATE

13

20D-47-11310

PLATE

14

01010-31025

BOLT

15

01643-31032

WASHER

16

20D-47-11321

STEP

17

01010-31025

BOLT

18

01643-31032

WASHER

19

20D-47-11163

BOX,TOOL

20

09455-13016

HINGE

21

01010-31025

BOLT

22

01643-31032

WASHER

23

09460-00000

LOCK

24

20D-47-11192

COVER

25

01010-31025

BOLT

26

01643-31032

WASHER

27

20D-47-11380

PLATE

28

01010-31025

BOLT

29

01643-31032

WASHER

30

20D-47-11460

PLATE

31

01010-32050

BOLT

32

01643-32060

WASHER

Выбрано товаров: 33