Запчасти Komatsu PW100-1 ШАССИ (/) ШАССИ И ПОВОРОТН. СИСТЕМА

Схема запчастей Komatsu PW100-1 - ШАССИ (/) ШАССИ И ПОВОРОТН. СИСТЕМА
FIT
1:1
100%

Артикул

Название

Примечание

Количество

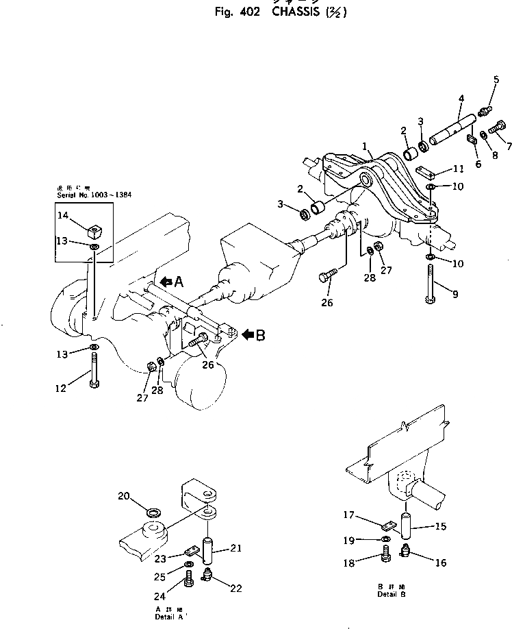
1

20D-47-11410

BRACKET

2

20D-47-11220

BUSHING

3

07145-00065

SEAL,DUST

4

20D-47-11210

PIN

5

07020-00000

FITTING,GREASE

6

04082-00312

LOCK

7

01010-31230

BOLT

8

01643-31232

WASHER

9

20D-09-11120

BOLT

10

01643-32460

WASHER

11

20D-47-11480

SEAT

12

205-46-62160

BOLT

12

20D-09-11110

BOLT

13

01643-32460

WASHER

13

01643-32460

WASHER

14

20D-47-11470

NUT

15

20D-27-11111

PIN

16

07020-00675

FITTING,GREASE

17

20D-27-11120

LOCK

18

01010-31025

BOLT

19

01643-31032

WASHER

20

20D-27-11132

SHIM

21

20D-27-11111

PIN

22

07020-00675

FITTING,GREASE

23

20D-27-11120

LOCK

24

01010-31025

BOLT

25

01643-31032

WASHER

26

01050-61445

BOLT

27

01582-01411

NUT

28

01643-31445

WASHER

Выбрано товаров: 30