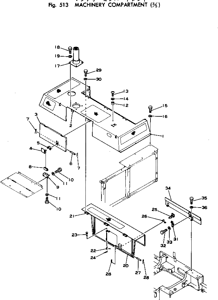
Запчасти Komatsu PW100-1 MACHINERY ОБСТАНОВКА (/) ОСНОВНАЯ РАМА И КАБИНА

Схема запчастей Komatsu PW100-1 - MACHINERY ОБСТАНОВКА (/) ОСНОВНАЯ РАМА И КАБИНА
FIT
1:1
100%

Артикул

Название

Примечание

Количество

|$0

20D-54-00030

HOOD ASS'Y

1

HOOD

2

20D-54-12220

HINGE (WELDED)

3

20D-54-12141

COVER

4

09461-00021

LEVER

5

09461-00023

SPRING

6

09461-00022

PIN

7

04050-03018

PIN,COTTER

8

09461-00012

BRACKET

9

20D-54-12440

BRACKET

10

01010-31020

BOLT

11

01643-31032

WASHER

12

203-54-11280

BOSS

13

01220-30520

SCREW

14

01601-00513

WASHER,SPRING

15

01010-31230

BOLT

16

01643-31232

WASHER

17

20D-01-12510

PIPE,EXHAUST

18

01010-31230

BOLT

19

124-54-26540

WASHER

|$20

20D-54-00040

COVER ASS'Y

20

COVER

21

20D-54-12760

HINGE (WELDED)

22

154-54-12820

SPRING

23

04205-00618

PIN

24

04050-01610

PIN,COTTER

25

20D-54-12660

LEVER

26

09461-00023

SPRING

27

09461-00022

PIN

28

04050-03018

PIN,COTTER

29

01010-31230

BOLT

30

01643-31232

WASHER

31

20D-54-12790

LOCK

32

01010-31230

BOLT

33

01643-31232

WASHER

34

20D-54-12323

COVER

35

01010-31230

BOLT

36

01643-31232

WASHER

Выбрано товаров: 0