Запчасти Komatsu PW100-1 КАБИНА (/7) ОСНОВНАЯ РАМА И КАБИНА

Схема запчастей Komatsu PW100-1 - КАБИНА (/7) ОСНОВНАЯ РАМА И КАБИНА
FIT
1:1
100%

Артикул

Название

Примечание

Количество

|$0

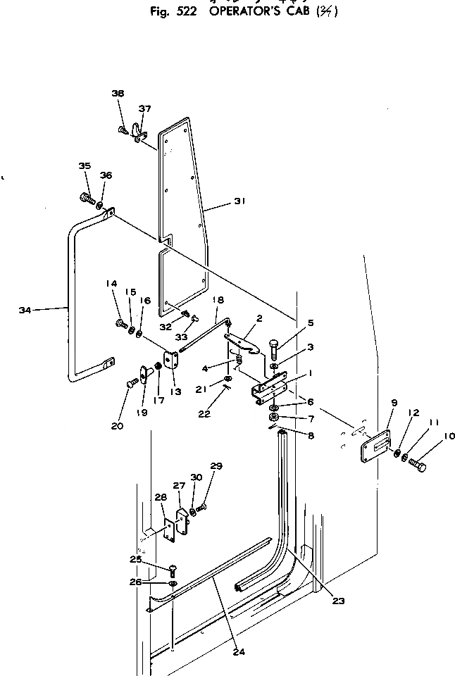
20D-54-00100

OPERATOR'S CAB ASS'Y

|$1

205-54-63400

CATCHER ASS'Y

1

205-54-63410

BRACKET

2

205-54-63420

HOOK

3

01641-01016

WASHER

4

205-54-53580

SPRING

5

01012-31055

BOLT

6

205-54-53590

WASHER

7

01590-01012

NUT

8

04050-02018

PIN,COTTER

9

205-54-63430

COVER

10

01010-30625

BOLT

11

01602-00619

WASHER,SPRING

12

01641-00608

WASHER

13

205-54-63450

BRACKET

14

01220-40620

SCREW

15

01602-20619

WASHER,SPRING

16

01641-20608

WASHER

17

08037-01008

GROMMET

18

205-54-63440

ROD

19

130-43-63320

KNOB

20

01220-40416

SCREW

21

01641-00812

WASHER

22

04050-02012

PIN,COTTER

23

205-54-61452

SEAL

24

205-54-63380

PLATE

25

01370-00412

SCREW

26

01641-20405

WASHER

27

566-54-24511

STRIKER

28

566-54-24521

SHIM, 0.8MM

29

01224-40820

SCREW

30

205-54-53730

WASHER,LOCK

31

205-54-61412

PAD

32

205-54-51560

CLIP

33

205-54-51570

GROMMET

34

205-54-63480

HANDLE

35

01010-51030

BOLT

36

01602-21030

WASHER,SPRING

37

205-54-51250

HANGER

38

01381-10420

SCREW

Выбрано товаров: 40