Запчасти Komatsu PW100-1 КАБИНА (7/7) ОСНОВНАЯ РАМА И КАБИНА

Схема запчастей Komatsu PW100-1 - КАБИНА (7/7) ОСНОВНАЯ РАМА И КАБИНА
FIT
1:1
100%

Артикул

Название

Примечание

Количество

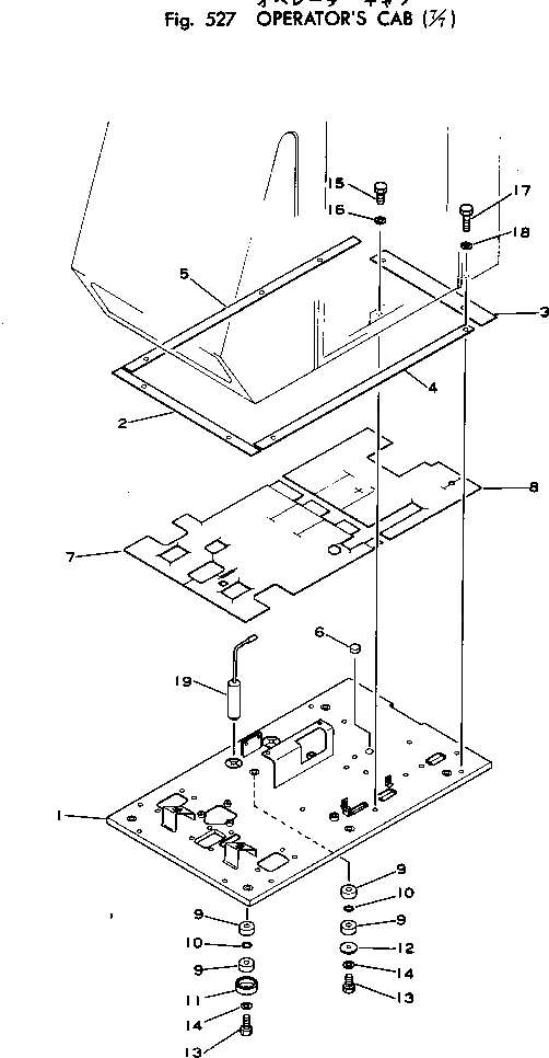
1

20D-54-12450

FRAME,FLOOR

2

20D-54-13360

SHEET

3

20D-54-13370

SHEET

4

20D-54-13380

SHEET

5

20D-54-13390

SHEET

6

09415-02520

CAP

7

20D-54-13490

MAT,FLOOR

8

20D-54-13510

MAT,FLOOR

9

203-54-21110

CUSHION

10

07000-03025

O-RING

11

201-54-21860

COLLAR

12

205-54-51950

PLATE

13

01010-31675

BOLT

14

01643-31645

WASHER

15

01010-31230

BOLT

16

01643-31232

WASHER

17

01010-31270

BOLT

18

01643-31232

WASHER

19

203-54-31251

PIN

Выбрано товаров: 19