Запчасти Komatsu PW100-1 ЦИЛИНДР РУКОЯТИ УПРАВЛ-Е РАБОЧИМ ОБОРУДОВАНИЕМ

Схема запчастей Komatsu PW100-1 - ЦИЛИНДР РУКОЯТИ УПРАВЛ-Е РАБОЧИМ ОБОРУДОВАНИЕМ
FIT
1:1
100%

Артикул

Название

Примечание

Количество

|$0

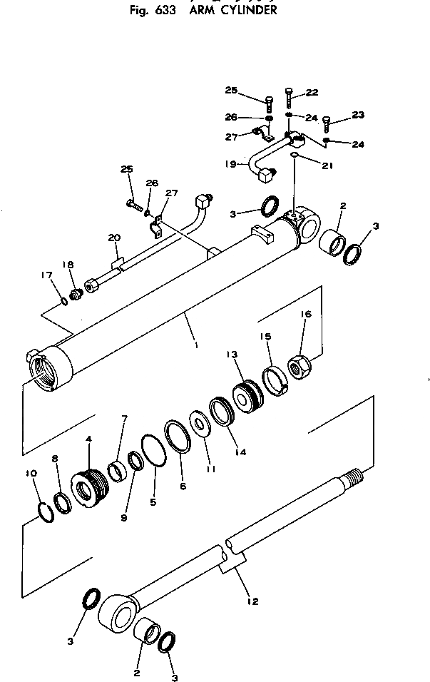
202-63-62100

CYLINDER ASS'Y

1

202-63-62140

CYLINDER

2

202-63-36440

BUSHING

3

07145-00070

SEAL,DUST

4

707-29-12491

HEAD,CYLINDER

5

111-63-81230

RING,BACK-UP

6

07000-12125

O-RING

7

07177-07030

BUSHING

8

144-63-95170

SEAL,DUST

9

707-51-70211

PACKING,ROD

10

07179-00093

RING,SNAP

11

707-41-10110

RETAINER

12

202-63-62120

ROD,PISTON

13

707-36-12290

PISTON

14

707-44-12080

RING,PISTON

15

07155-01230

RING,WEAR

16

07165-15252

NUT,NYLON

17

07002-12434

O-RING

18

07230-10628

UNION

19

202-63-36180

TUBE

20

202-63-62180

TUBE

21

07000-13030

O-RING

22

01010-50850

BOLT

23

01010-50835

BOLT

24

01602-20825

WASHER,SPRING

25

01010-51025

BOLT

26

01602-21030

WASHER,SPRING

27

07282-02793

CLAMP

Выбрано товаров: 28