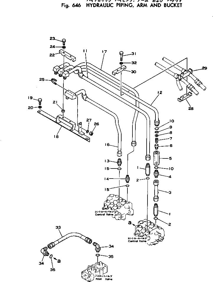
Запчасти Komatsu PW100-1 ГИДРОЛИНИЯ¤ РУКОЯТЬ И КОВШ УПРАВЛ-Е РАБОЧИМ ОБОРУДОВАНИЕМ

Схема запчастей Komatsu PW100-1 - ГИДРОЛИНИЯ¤ РУКОЯТЬ И КОВШ УПРАВЛ-Е РАБОЧИМ ОБОРУДОВАНИЕМ
FIT
1:1
100%

Артикул

Название

Примечание

Количество

1

203-62-11410

NIPPLE

2

07002-12434

O-RING

3

20D-62-17710

TUBE

4

202-62-14170

NIPPLE

|$4

202-60-31200

VALVE ASS'Y,SLOW RETURN

5

203-60-21280

BODY

6

202-60-31111

POPPET

7

203-60-21310

SPRING

8

205-60-51320

SEAT

9

04065-02812

RING,SNAP

10

07002-13334

O-RING

11

20D-62-16951

TUBE

12

20D-62-16962

TUBE

13

07230-10628

UNION

14

202-62-12210

NIPPLE

15

07002-12434

O-RING

16

20D-62-16892

TUBE

17

20D-62-16911

TUBE

18

20D-62-21460

BRACKET

19

01010-31225

BOLT

20

01643-31232

WASHER

21

203-62-21720

SPACER

22

20D-62-21470

CLAMP

23

01010-31265

BOLT

24

01643-31232

WASHER

25

07283-22738

CLIP

26

01599-01011

NUT

27

01643-31032

WASHER

28

20D-62-11980

CLAMP

29

20D-62-11970

CLAMP

30

20D-62-11960

CLAMP

31

01010-31295

BOLT

32

01643-31232

WASHER

33

07123-00506

HOSE

34

07235-10522

ELBOW

35

07002-12434

O-RING

Выбрано товаров: 36