Запчасти Komatsu PW100-3 МЕХ-М УПРАВЛ-Я РАБОЧ. ОБОРУД-EM (/) (ДЛЯ СТРЕЛЫ¤ КОВШ)(№77-) СИСТЕМА УПРАВЛЕНИЯ И ОСНОВНАЯ РАМА

Схема запчастей Komatsu PW100-3 - МЕХ-М УПРАВЛ-Я РАБОЧ. ОБОРУД-EM (/) (ДЛЯ СТРЕЛЫ¤ КОВШ)(№77-) СИСТЕМА УПРАВЛЕНИЯ И ОСНОВНАЯ РАМА
FIT
1:1
100%

Артикул

Название

Примечание

Количество

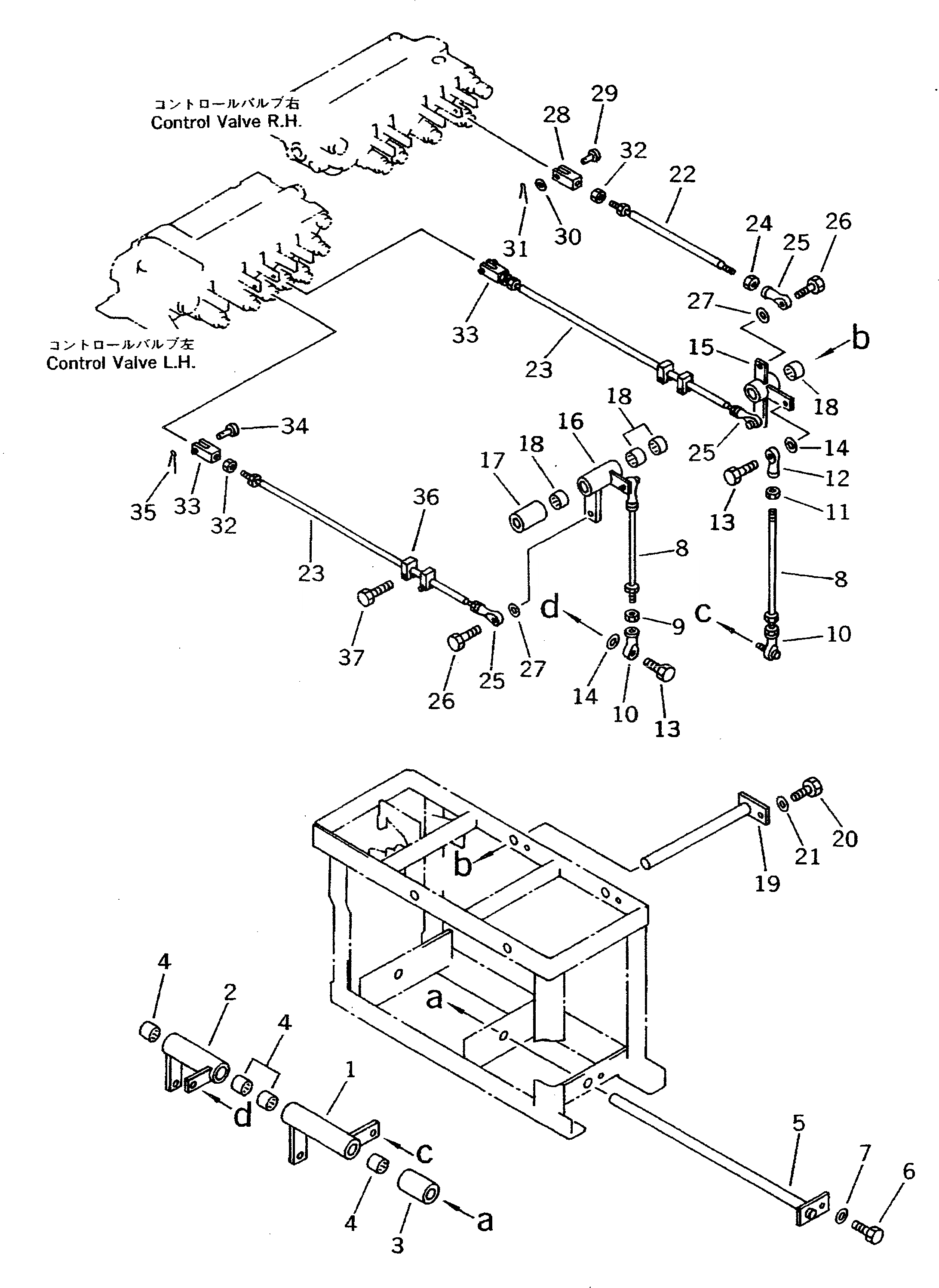
1

20D-43-41222

LEVER

2

20D-43-41212

LEVER

3

203-43-42770

PIPE

4

195-61-34130

BEARING

5

20D-43-41240

SHAFT

6

01010-51025

BOLT

7

01643-31032

WASHER

8

04248-31028

ROD

9

01582-11008

NUT

10

04250-41056

END,ROD

11

01508-41006

NUT,L.H. THREAD

12

04250-61056

END,ROD, L.H. THREAD

13

01010-51030

BOLT

14

04254-01032

SPACER

15

203-43-43452

LEVER

16

203-43-41262

LEVER

17

203-43-43180

SPACER

18

195-61-34130

BEARING

19

203-43-41272

SHAFT

20

01010-51025

BOLT

21

01643-31032

WASHER

22

04248-31036

ROD

23

203-43-42450

ROD

24

01508-41006

NUT,L.H. THREAD

25

04250-61056

END,ROD, L.H. THREAD

26

01010-51030

BOLT

27

04254-01032

SPACER

28

203-43-41740

YOKE

29

04205-10825

PIN

30

01641-20812

WASHER

31

04050-12012

PIN,COTTER

32

01582-11008

NUT

33

20T-43-22210

YOKE

34

04205-10822

PIN

35

04050-12012

PIN,COTTER

36

203-43-42542

PLATE

36

203-43-42541

PLATE

37

01010-50825

BOLT

Выбрано товаров: 38