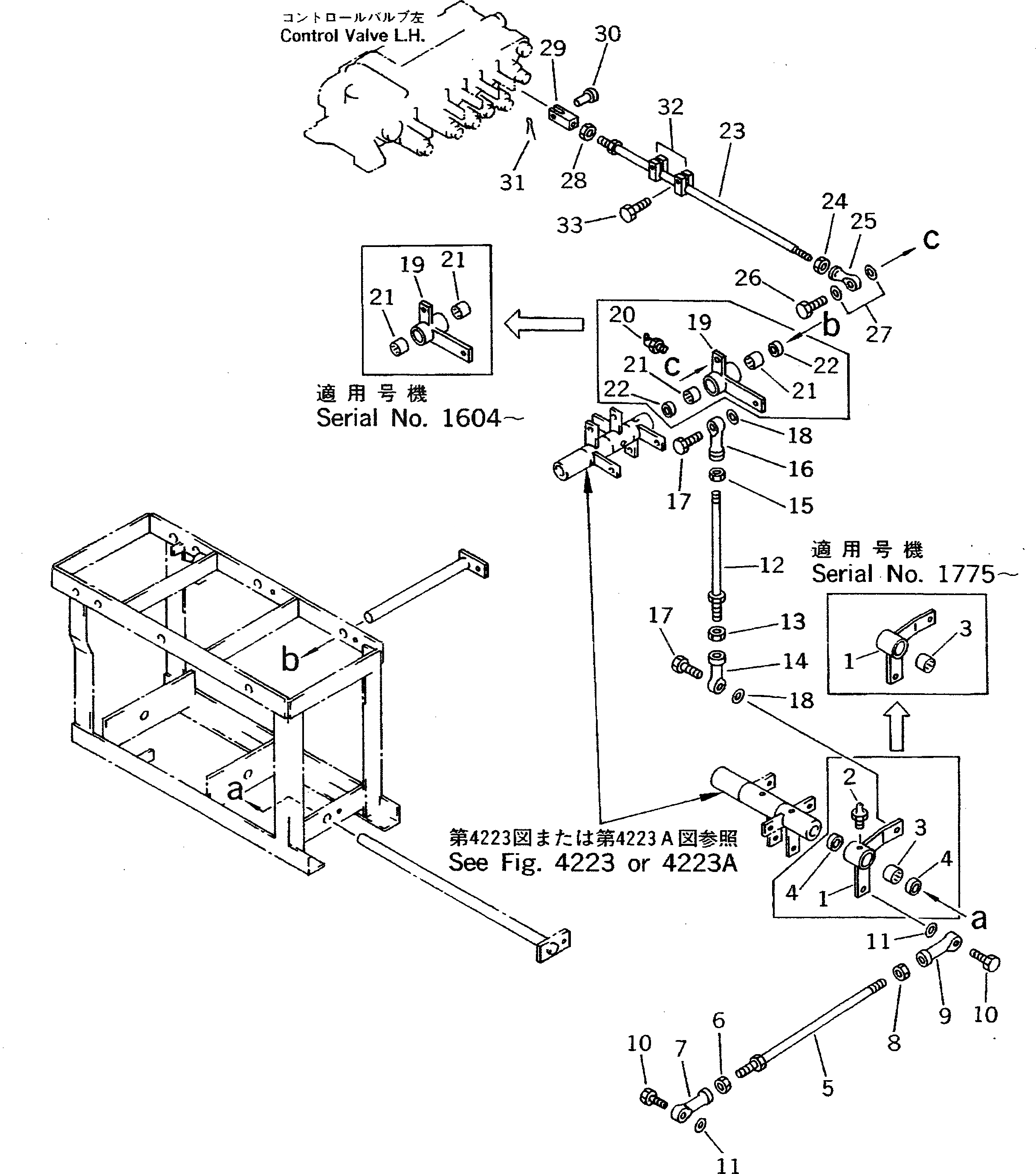
Запчасти Komatsu PW100-3 ОПОРА РЫЧАГ УПРАВЛ-Я И МЕХАНИЗМ (/) СИСТЕМА УПРАВЛЕНИЯ И ОСНОВНАЯ РАМА

Схема запчастей Komatsu PW100-3 - ОПОРА РЫЧАГ УПРАВЛ-Я И МЕХАНИЗМ (/) СИСТЕМА УПРАВЛЕНИЯ И ОСНОВНАЯ РАМА
FIT
1:1
100%

Артикул

Название

Примечание

Количество

1

20D-43-41341

LEVER

1

20D-43-41340

LEVER

2

07020-00000

FITTING,GREASE

3

195-61-34130

BEARING

3

06120-02016

BEARING

4

06122-02004

SEAL,BEARING

5

04248-31028

ROD

6

01582-11008

NUT

7

04250-41056

END,ROD

8

01508-41006

NUT,L.H. THREAD

9

04250-61056

END,ROD, L.H. THREAD

10

01010-51030

BOLT

11

04254-01032

SPACER

12

04248-31028

ROD

13

01582-11008

NUT

14

04250-41056

END,ROD

15

01508-41006

NUT,L.H. THREAD

16

04250-61056

END,ROD, L.H. THREAD

17

01010-51030

BOLT

18

04254-01032

SPACER

19

20D-43-41352

LEVER

19

20D-43-41351

LEVER

19

20D-43-41350

LEVER

20

07020-00900

FITTING,GREASE

21

195-61-34130

BEARING

21

06120-02016

BEARING

22

06122-02004

SEAL,BEARING

23

203-43-41471

ROD

24

01508-41006

NUT,L.H. THREAD

25

04250-61056

END,ROD, L.H. THREAD

26

01010-51030

BOLT

27

01643-31032

WASHER

28

01582-11008

NUT

29

20T-43-22210

YOKE

30

04205-10822

PIN

31

04050-12012

PIN,COTTER

32

203-43-42542

PLATE

32

203-43-42541

PLATE

33

01010-50825

BOLT

Выбрано товаров: 39