Качественные детали и логистика
Оригинальные и аналоговые запчасти с доставкой по России, Казахстану и Беларуси
©2022 PartSell ООО "Система" ИНН 2463123282 ОГРН 1212400004838
Центральный офис: г. Красноярск, Академика Киренского, д.87, пом.4
Телефон: 8 (800) 777-65-74 Email: zakaz@partsell.ru
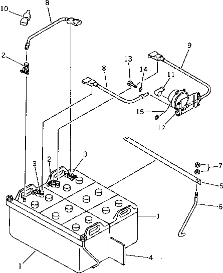
АККУМУЛЯТОР (МОРОЗОУСТОЙЧИВ. СПЕЦИФИКАЦИЯ.)
№
Артикул
Название
Примечание
Количество
1
08000-32215
BATTERY, WET(145F51),(NS150)
2
08000-00000
TERMINAL, (+)
3
08000-00001
TERMINAL, (-)
4
120-06-31171
PLATE
5
120-06-31141
HOLDER
6
120-06-31151
BOLT
7
01580-11008
NUT
8
08028-12035
CABLE
9
08028-12045
10
08038-22009
CAP,TERMINAL
11
08038-04030
CAP
12
22W-06-13220
SWITCH,BATTERY RELAY
13
01010-50830
14
01602-20825
WASHER,SPRING
15
20G-06-14440
WIRE
Выбрано товаров: 0