Запчасти Komatsu PW100-3 MACHINERY ОБСТАНОВКА (/)(№8-) ЧАСТИ КОРПУСА

Схема запчастей Komatsu PW100-3 - MACHINERY ОБСТАНОВКА (/)(№8-) ЧАСТИ КОРПУСА
FIT
1:1
100%

Артикул

Название

Примечание

Количество

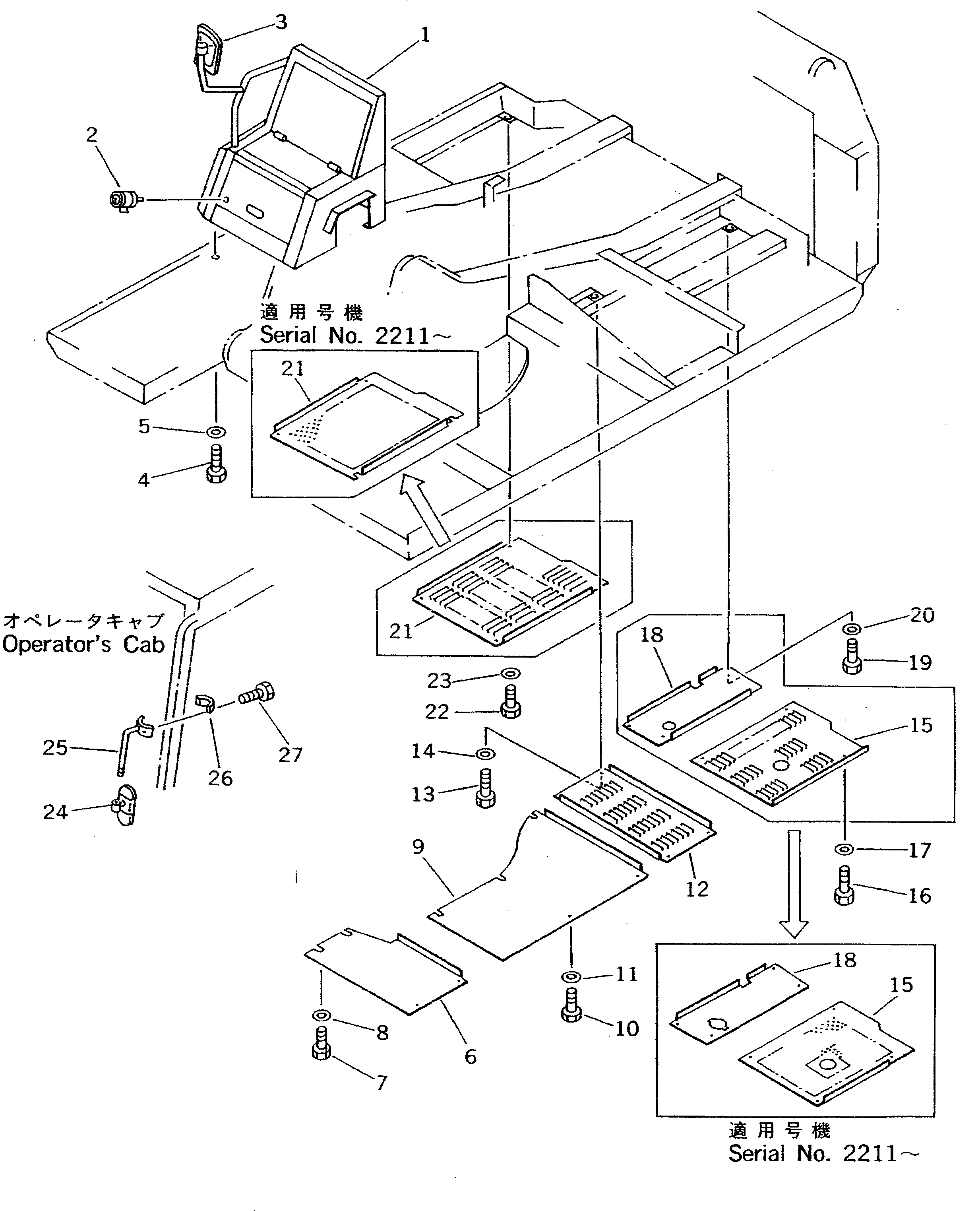
1

20D-54-41114

COVER

2

205-60-71220

LOCK ASS'Y

3

08174-33023

MIRROR

4

01010-51020

BOLT

5

01643-31032

WASHER

6

20D-54-41272

COVER

7

01010-51025

BOLT

8

01643-31032

WASHER

9

20D-54-41261

COVER

10

01010-51025

BOLT

11

01643-31032

WASHER

12

20D-54-41250

COVER

13

01010-51025

BOLT

14

01643-31032

WASHER

15

20D-54-41233

COVER

15

20D-54-41232

COVER

16

01010-51025

BOLT

17

01643-31032

WASHER

18

20D-54-41960

COVER

18

20D-54-41221

COVER

19

01010-51025

BOLT

20

01643-31032

WASHER

21

20D-54-41214

COVER

21

20D-54-41213

COVER

22

01010-51025

BOLT

23

01643-31032

WASHER

24

08174-13117

MIRROR,ROOM

24

08174-13116

MIRROR,ROOM

25

20G-54-19250

SUPPORT

26

205-54-77550

CLAMP

27

01252-41025

BOLT

Выбрано товаров: 31