Запчасти Komatsu PW100-3 MACHINERY ОБСТАНОВКА (/) (БЕЗ OLSS)(№89-) ЧАСТИ КОРПУСА

Схема запчастей Komatsu PW100-3 - MACHINERY ОБСТАНОВКА (/) (БЕЗ OLSS)(№89-) ЧАСТИ КОРПУСА
FIT
1:1
100%

Артикул

Название

Примечание

Количество

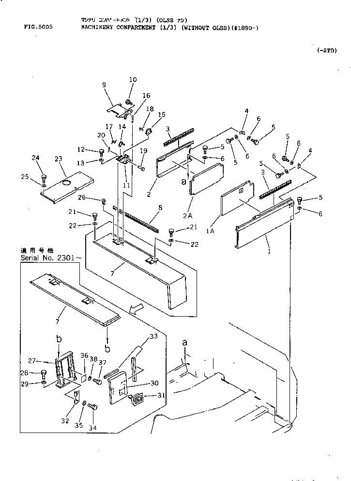
1

20D-54-41331

COVER

1A

20D-54-44150

SHEET

2

20D-54-41342

COVER

2A

20D-54-41840

SHEET

3

20D-54-41490

TRIM

3

09412-10007

TRIM

4

203-54-42780

PLATE

5

01010-51020

BOLT

6

01643-31032

WASHER

7

20D-54-44310

COVER

7

203-54-42366

COVER

8

09412-10009

SEAL

9

203-54-45730

COVER

10

21K-54-26370

BOLT

11

21K-54-26310

BRACKET

12

01010-51020

BOLT

13

01643-31032

WASHER

14

21K-54-26330

PLATE

15

21K-54-26340

LEVER

16

21K-54-26380

SPRING

17

21K-54-26350

SPRING

18

21K-54-26360

SPRING

19

04205-11038

PIN

20

04050-13020

PIN,COTTER

21

01010-51020

BOLT

21

01010-51020

BOLT

22

01643-31032

WASHER

22

01643-31032

WASHER

23

203-54-42822

COVER

24

01010-51020

BOLT

25

01643-31032

WASHER

26

205-60-71220

LOCK ASS'Y

27

20D-54-44540

BRACKET

28

01010-51020

BOLT

29

01643-31032

WASHER

30

20D-54-44550

COVER

31

421-54-11372

LOCK ASS'Y (WELDED)

32

203-54-52240

HINGE (WELDED)

33

20D-54-44440

SEAL

34

01010-51020

BOLT

35

01643-31032

WASHER

36

20D-54-44430

PLATE

37

01010-51020

BOLT

38

01643-31032

WASHER

Выбрано товаров: 44