Запчасти Komatsu PW100-3 ПАНЕЛЬ ПРИБОРОВ (/)(№-8) КОМПОНЕНТЫ ДВИГАТЕЛЯ И ЭЛЕКТРИКА

Схема запчастей Komatsu PW100-3 - ПАНЕЛЬ ПРИБОРОВ (/)(№-8) КОМПОНЕНТЫ ДВИГАТЕЛЯ И ЭЛЕКТРИКА
FIT
1:1
100%

Артикул

Название

Примечание

Количество

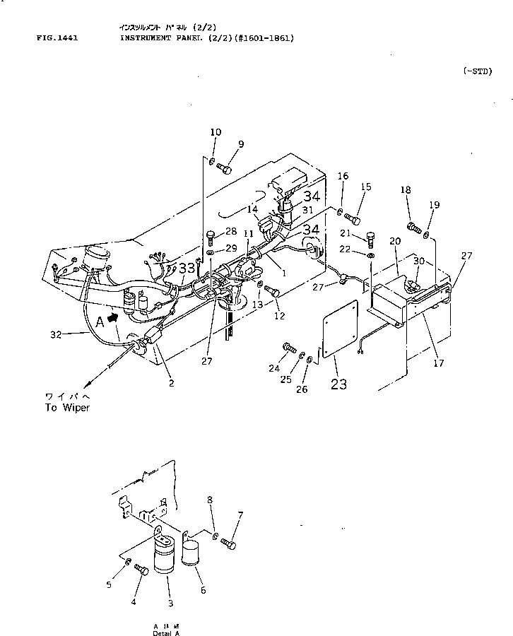
1

20D-06-41312

WIRE ASS'Y

1

20D-06-41311

WIRE ASS'Y

1

22W-06-13590

DIODE

2

20G-06-12460

SWITCH,EMERGENCY STARTING

3

08077-22400

FLASHER,TURN SIGNAL

4

01010-50812

BOLT

5

01602-20825

WASHER,SPRING

6

22W-06-12460

RELAY

7

01010-50612

BOLT

8

01602-20619

WASHER,SPRING

9

01010-50610

BOLT

10

01602-20619

WASHER,SPRING

11

22W-06-15860

SWITCH,MODE

12

01010-51030

BOLT

13

01643-31032

WASHER

14

08163-02400

RELAY,HORN

15

01010-50612

BOLT

16

01602-20619

WASHER,SPRING

17

20D-06-41270

RESISTOR ASS'Y

18

01010-50816

BOLT

19

01643-30823

WASHER

20

20D-06-41261

CONTROLLER

20

20D-06-41260

CONTROLLER

21

01010-50816

BOLT

22

01643-30823

WASHER

23

205-06-72181

COVER

24

01220-40410

SCREW

25

01601-20410

WASHER,SPRING

26

01641-20405

WASHER

27

08036-01814

CLIP

28

01010-51016

BOLT

29

01643-31032

WASHER

30

08036-03014

CLIP

31

08034-00414

BAND

32

08604-45028

CABLE

33

20D-06-41340

WIRE,(FOR STEERING AUTO SELECTOR)

34

08034-00414

BAND,(FOR STEERING AUTO SELECTOR)

Выбрано товаров: 37