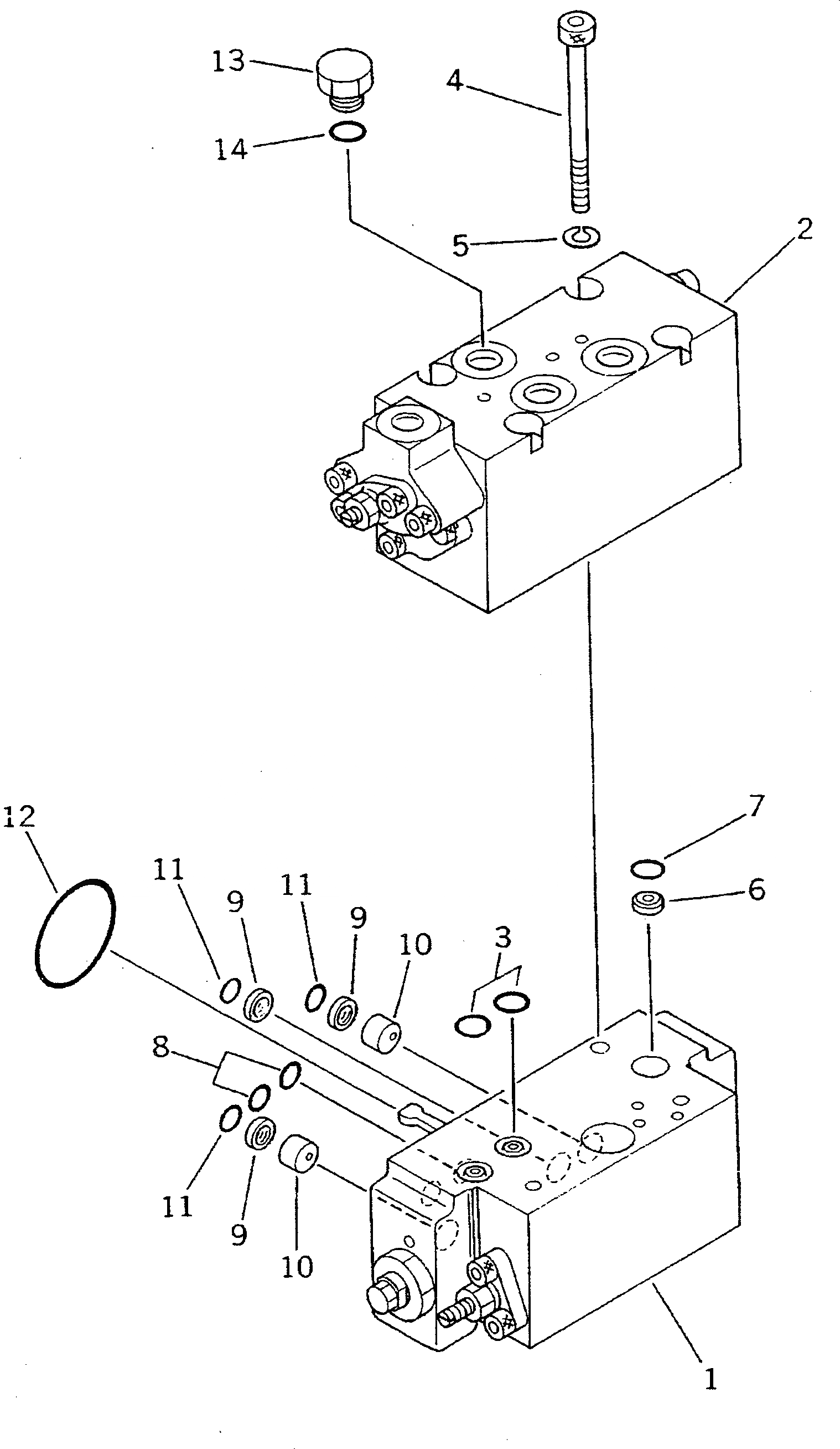
Запчасти Komatsu PW100-3 СЕРВОКЛАПАН¤ ЗАДН. (/) (С OLSS) УПРАВЛ-Е РАБОЧИМ ОБОРУДОВАНИЕМ

Схема запчастей Komatsu PW100-3 - СЕРВОКЛАПАН¤ ЗАДН. (/) (С OLSS) УПРАВЛ-Е РАБОЧИМ ОБОРУДОВАНИЕМ
FIT
1:1
100%

Артикул

Название

Примечание

Количество

|$0

708-23-01070

PUMP ASS'Y (HPV55+55)

|$1

708-23-01032

PUMP ASS'Y (HPV55+55)

|$2

708-23-01030

PUMP ASS'Y (HPV55+55)

|$3

708-23-10300

PUMP ASS'Y (HPV55+55)

|$5

708-23-07221

SERVO VALVE ASS'Y,REAR

|$6

708-23-16300

SERVO VALVE ASS'Y,REAR

1

708-23-16200

SERVO VALVE SUB A.,REAR

2

708-23-07621

VALVE ASS'Y,CO AND NC

2

708-23-17400

VALVE ASS'Y,CO AND NC

3

07000-02011

O-RING

4

708-25-19160

BOLT

5

01602-20825

WASHER,SPRING

6

720-68-11920

FILTER

7

07000-12010

O-RING

8

07000-11009

O-RING

9

720-68-11920

FILTER

10

708-23-19130

ORIFICE

11

07000-12010

O-RING

12

07000-03048

O-RING

13

07040-11409

PLUG

14

07002-01423

O-RING

Выбрано товаров: 21