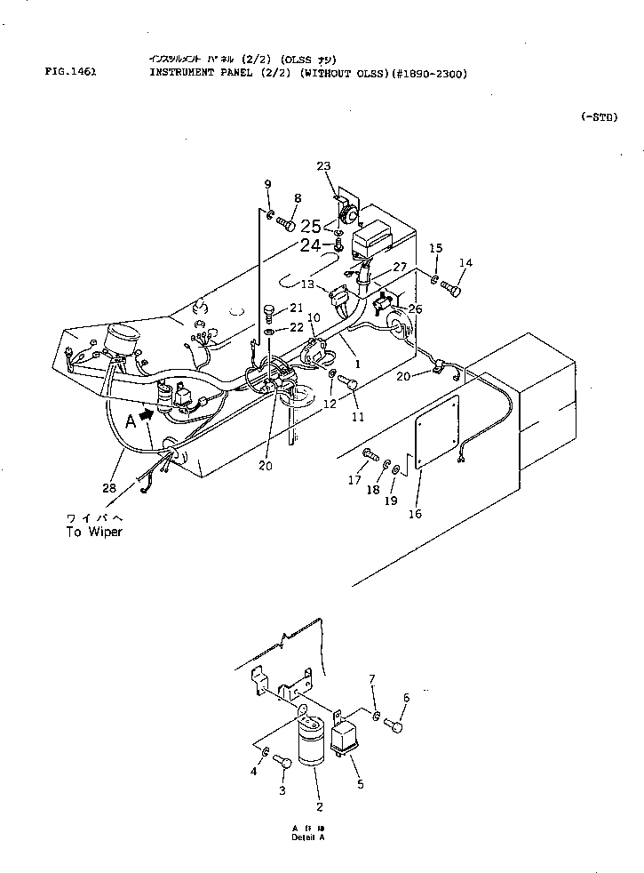
Запчасти Komatsu PW100-3 ПАНЕЛЬ ПРИБОРОВ (/) (БЕЗ OLSS)(№89-) КОМПОНЕНТЫ ДВИГАТЕЛЯ И ЭЛЕКТРИКА

Схема запчастей Komatsu PW100-3 - ПАНЕЛЬ ПРИБОРОВ (/) (БЕЗ OLSS)(№89-) КОМПОНЕНТЫ ДВИГАТЕЛЯ И ЭЛЕКТРИКА
FIT
1:1
100%

Артикул

Название

Примечание

Количество

1

20D-06-41380

WIRE ASS'Y

1

22W-06-13590

DIODE

2

08077-22400

FLASHER,TURN SIGNAL

3

01010-50812

BOLT

4

01602-20825

WASHER,SPRING

5

22W-06-13450

RELAY ASS'Y

6

01010-50612

BOLT

7

01602-20619

WASHER,SPRING

8

01010-50610

BOLT

9

01602-20619

WASHER,SPRING

10

22W-06-15861

SWITCH,MODE

11

01010-51035

BOLT

12

01643-31032

WASHER

13

08163-02400

RELAY,HORN

14

01010-50612

BOLT

15

01602-20619

WASHER,SPRING

16

205-06-72181

COVER

17

01220-40410

SCREW

18

01601-20410

WASHER,SPRING

19

01641-20405

WASHER

20

08036-01814

CLIP

21

01010-51016

BOLT

22

01643-31032

WASHER

23

175-06-51210

BUZZER

24

01220-40612

SCREW

25

01602-20619

WASHER,SPRING

26

20G-68-11310

SWITCH,LOW PRESSURE

27

08034-00414

BAND

28

08604-45028

CABLE

Выбрано товаров: 29