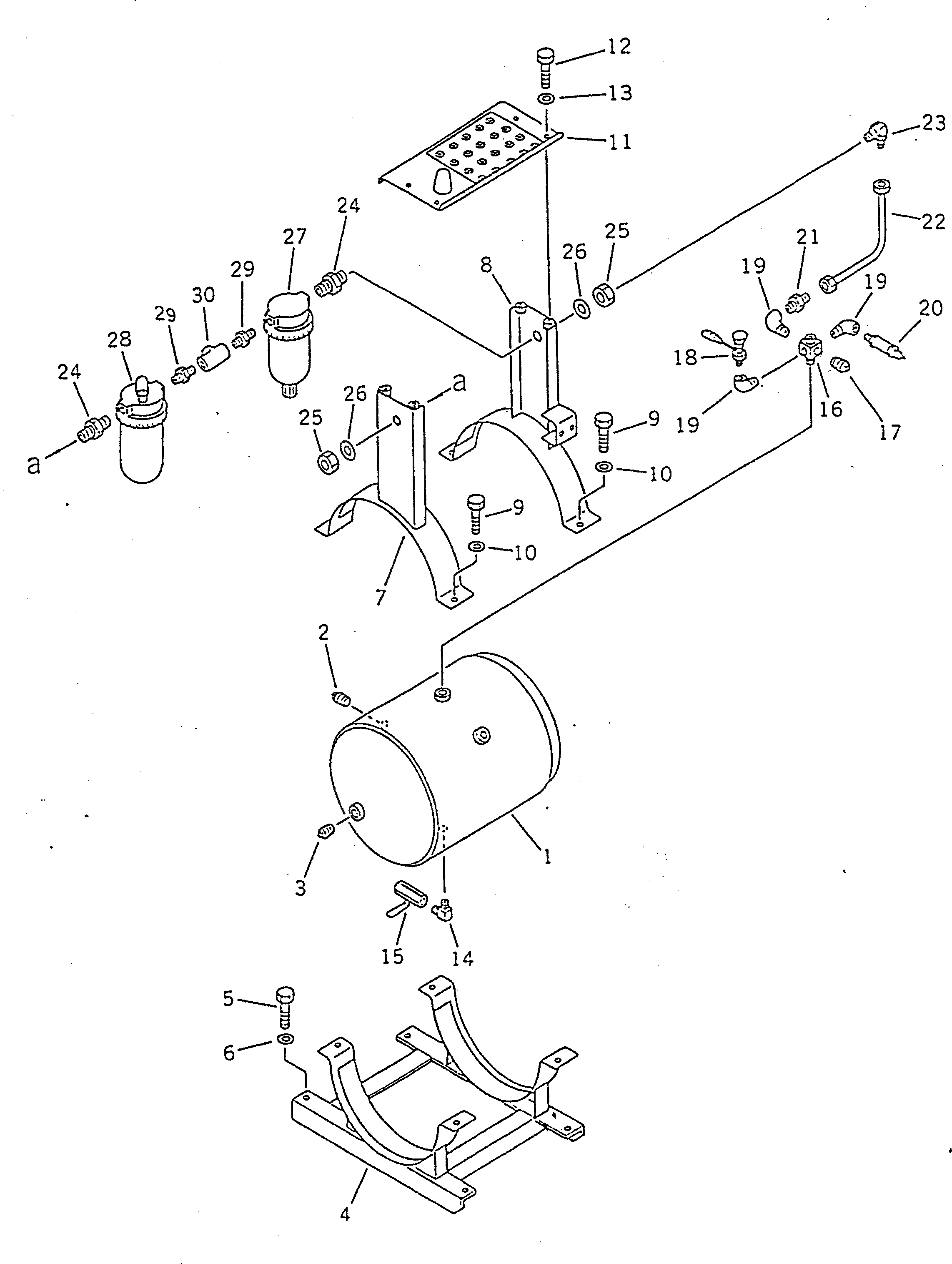
Запчасти Komatsu PW100-3 ВЕРХН. ВОЗДУХОВОД (ВОЗД. БАЛЛОН КОМПОНЕНТЫ)(№-8) УПРАВЛ-Е РАБОЧИМ ОБОРУДОВАНИЕМ

Схема запчастей Komatsu PW100-3 - ВЕРХН. ВОЗДУХОВОД (ВОЗД. БАЛЛОН КОМПОНЕНТЫ)(№-8) УПРАВЛ-Е РАБОЧИМ ОБОРУДОВАНИЕМ
FIT
1:1
100%

Артикул

Название

Примечание

Количество

1

20G-68-11110

RESERVOIR

2

07042-10617

PLUG

3

07042-70415

PLUG

4

20D-68-41340

BRACKET

5

01010-51025

BOLT

6

01643-31032

WASHER

7

20D-68-41240

BRACKET

8

20D-68-41110

BRACKET

9

01010-51030

BOLT

10

01643-31032

WASHER

11

20G-68-11261

PLATE

12

01010-51025

BOLT

13

01643-31032

WASHER

14

20D-68-11670

ELBOW

15

07700-40240

VALVE

16

20G-68-13190

TEE

17

07042-10211

PLUG

18

22W-44-11661

SWITCH,LOW PRESSURE

19

07323-30200

ELBOW

20

07815-00209

VALVE ASS'Y,SAFETY

21

07213-51013

CONNECTOR

22

20G-68-13110

TUBE

23

20D-68-12940

ELBOW

24

07830-10424

NIPPLE

25

01582-12419

NUT

26

01643-32460

WASHER

27

07811-20400

FILTER

28

07814-20400

LUBRICATOR

29

07325-10400

NIPPLE

30

07324-10400

TEE

Выбрано товаров: 30