Запчасти Komatsu PW100-3 КОВШ¤ .M ШИР. 8MM (БЕЗ OLSS)(№89-) РАБОЧЕЕ ОБОРУДОВАНИЕ

Схема запчастей Komatsu PW100-3 - КОВШ¤ .M ШИР. 8MM (БЕЗ OLSS)(№89-) РАБОЧЕЕ ОБОРУДОВАНИЕ
FIT
1:1
100%

Артикул

Название

Примечание

Количество

|$0

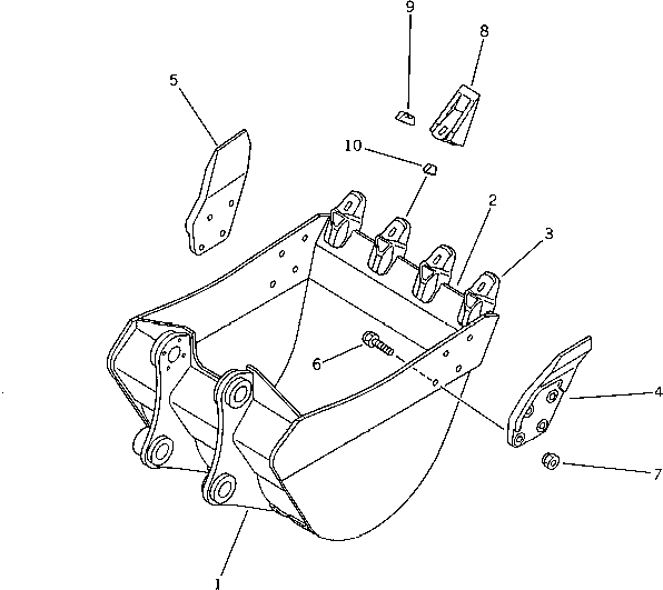
202-70-00284

BUCKET ASS'Y

|$1

202-70-00283

BUCKET ASS'Y

1

202-70-53112

BUCKET

2

202-70-53121

PLATE (WELDED)

3

203-70-43191

ADAPTER (WELDED)

4

21K-70-14180

CUTTER,L.H.

5

21K-70-14190

CUTTER,R.H.

6

208-32-11231

BOLT

7

01803-02228

NUT

8

203-70-43180

TOOTH

8

203-70-43230

TOOTH,(FOR LONG LIFE)

9

203-70-43212

PIN

9

203-70-43211

PIN

10

203-70-43220

LOCK

Выбрано товаров: 14