Запчасти Komatsu PW100-3 ШАССИ (/) (С ПЕРЕДН. И ЗАДН. КРЫЛО)(№-) ШАССИ¤ ТРАНСМИССИЯ¤ МОСТ¤ КОЛЕСА И ВОЗД. СИСТЕМА

Схема запчастей Komatsu PW100-3 - ШАССИ (/) (С ПЕРЕДН. И ЗАДН. КРЫЛО)(№-) ШАССИ¤ ТРАНСМИССИЯ¤ МОСТ¤ КОЛЕСА И ВОЗД. СИСТЕМА
FIT
1:1
100%

Артикул

Название

Примечание

Количество

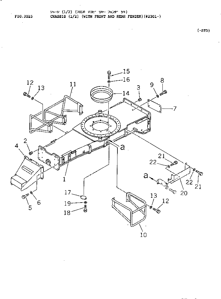
1

20D-47-41114

FRAME

1

20D-47-41641

FRAME,(FOR TRANSMISSION PROTECTOR)

2

07049-02025

PLUG

3

07049-02430

PLUG

4

20D-47-41391

BRACKET

5

01010-52050

BOLT

6

01643-32060

WASHER

7

20D-47-41720

COVER

8

01010-51020

BOLT

9

01643-31032

WASHER

10

20D-47-41183

STEP,L.H.

11

20D-47-41192

STEP,R.H.

12

01010-51230

BOLT

13

01643-31232

WASHER

14

203-30-41144

COVER

14

203-30-41152

SEAL

15

01010-51225

BOLT

16

01643-31232

WASHER

17

205-30-67650

COVER

18

01010-51220

BOLT

19

01643-31232

WASHER

20

20D-68-41780

COVER

21

01010-51225

BOLT

22

01643-31232

WASHER

Выбрано товаров: 24