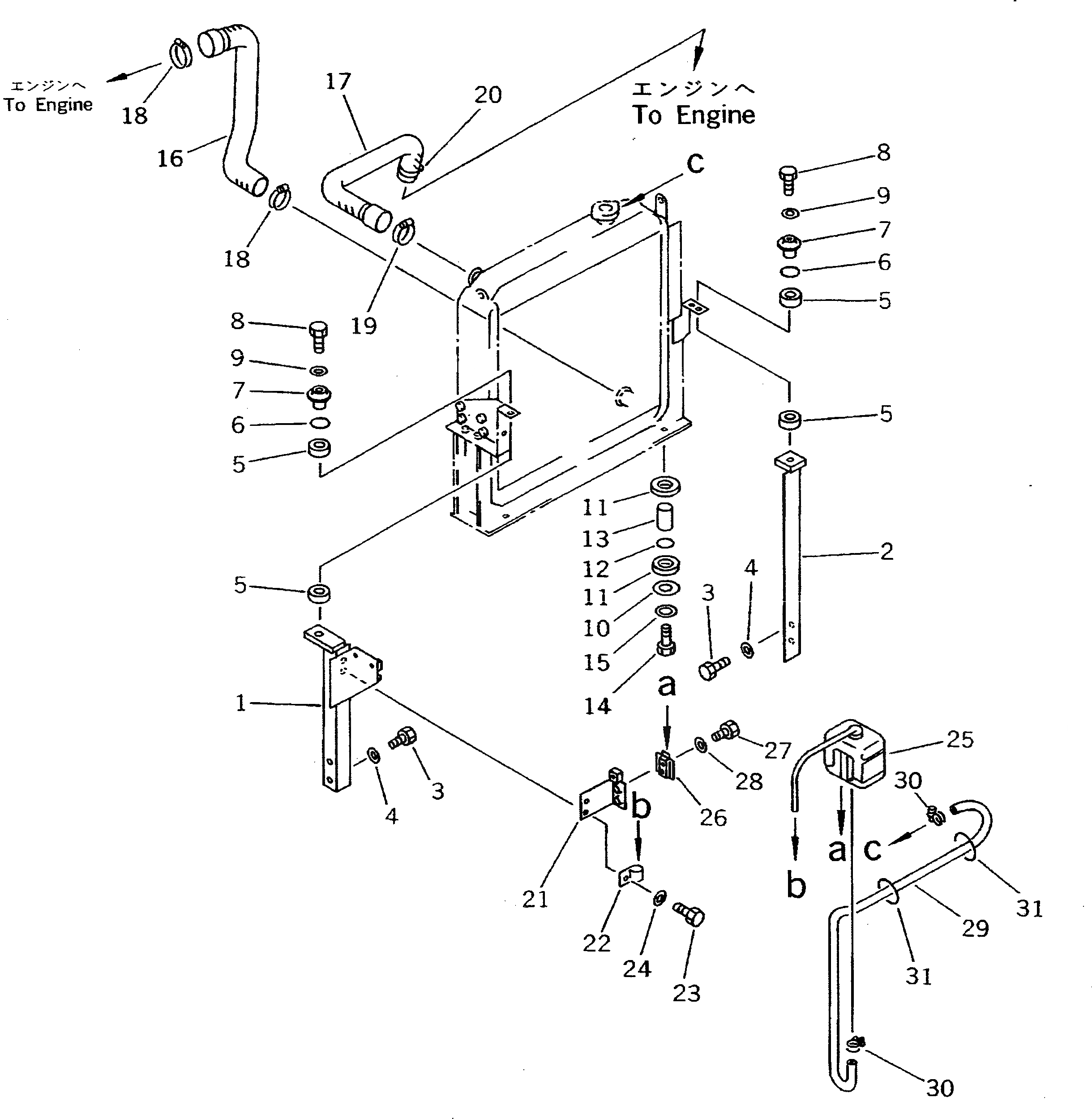
Запчасти Komatsu PW100-3 КРЕПЛЕНИЕ РАДИАТОРА И ТРУБЫ(№-) КОМПОНЕНТЫ ДВИГАТЕЛЯ И ЭЛЕКТРИКА

Схема запчастей Komatsu PW100-3 - КРЕПЛЕНИЕ РАДИАТОРА И ТРУБЫ(№-) КОМПОНЕНТЫ ДВИГАТЕЛЯ И ЭЛЕКТРИКА
FIT
1:1
100%

Артикул

Название

Примечание

Количество

1

20D-03-41562

BRACKET

2

20D-03-41571

BRACKET

3

01010-51025

BOLT

4

01643-31032

WASHER

5

203-62-42770

CUSHION

6

07000-03025

O-RING

7

203-03-41570

COLLAR

8

01010-51250

BOLT

9

01643-31232

WASHER

10

205-03-71340

PLATE

11

205-03-62680

CUSHION

12

07000-03022

O-RING

13

205-03-71330

COLLAR

14

01010-51275

BOLT

15

01643-31232

WASHER

16

20G-03-11163

HOSE

17

20G-03-11171

HOSE

18

208-09-11110

CLAMP

|18

07281-00609

CLAMP

19

208-09-11110

CLAMP

|19

07281-00609

CLAMP

20

207-09-11110

CLAMP

21

20D-03-41332

BRACKET

22

08036-10814

CLIP

23

01010-51025

BOLT

24

01643-31032

WASHER

25

20D-03-41441

TANK

|25

20D-03-41440

TANK

26

203-03-41620

BRACKET

27

01010-50620

BOLT

28

01643-30623

WASHER

29

20D-03-41450

HOSE

30

206-03-43340

CLIP

31

08034-00519

BAND

Выбрано товаров: 34