Запчасти Komatsu PW100-3 МЕХ-М УПРАВЛ-Я РАБОЧ. ОБОРУД-EM (/) (ДЛЯ СТРЕЛЫ¤ КОВШ)(№-77) СИСТЕМА УПРАВЛЕНИЯ И ОСНОВНАЯ РАМА

Схема запчастей Komatsu PW100-3 - МЕХ-М УПРАВЛ-Я РАБОЧ. ОБОРУД-EM (/) (ДЛЯ СТРЕЛЫ¤ КОВШ)(№-77) СИСТЕМА УПРАВЛЕНИЯ И ОСНОВНАЯ РАМА
FIT
1:1
100%

Артикул

Название

Примечание

Количество

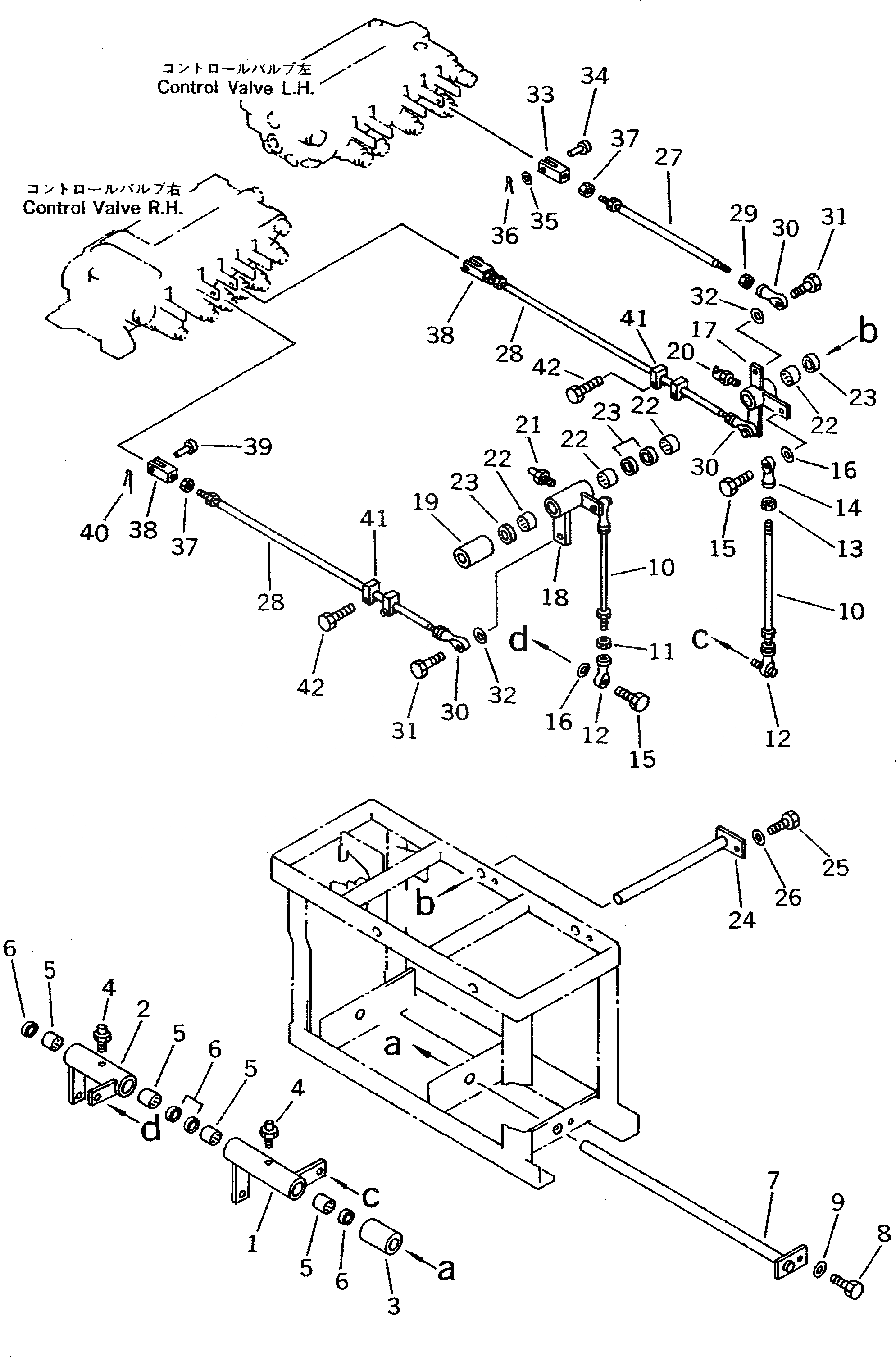
1

20D-43-41221

LEVER

|1

20D-43-41220

LEVER

2

20D-43-41211

LEVER

|2

20D-43-41210

LEVER

3

203-43-42770

PIPE

4

07020-00000

FITTING,GREASE

5

195-61-34130

BEARING

|5

06120-02016

BEARING

6

06122-02004

SEAL,BEARING

7

20D-43-41240

SHAFT

8

01010-51025

BOLT

9

01643-31032

WASHER

10

04248-31028

ROD

11

01582-11008

NUT

12

04250-41056

END,ROD

13

01508-41006

NUT,L.H. THREAD

14

04250-61056

END,ROD¤ L.H. THREAD

15

01010-51030

BOLT

16

04254-01032

SPACER

17

203-43-43451

LEVER

|17

203-43-43450

LEVER

18

203-43-41261

LEVER

|18

203-43-41260

LEVER

19

203-43-43180

SPACER

20

07020-00900

FITTING,GREASE

21

07020-00000

FITTING,GREASE

22

195-61-34130

BEARING

|22

06120-02016

BEARING

23

06122-02004

SEAL,BEARING

24

203-43-41272

SHAFT

25

01010-51025

BOLT

26

01643-31032

WASHER

27

04248-31036

ROD

28

203-43-42450

ROD

29

01508-41006

NUT,L.H. THREAD

30

04250-61056

END,ROD¤ L.H. THREAD

31

01010-51030

BOLT

32

04254-01032

SPACER

33

203-43-41740

YOKE

34

04205-10825

PIN

35

01641-20812

WASHER

36

04050-12012

PIN,COTTER

37

01582-11008

NUT

38

20T-43-22210

YOKE

39

04205-10822

PIN

40

04050-12012

PIN,COTTER

41

203-43-42541

PLATE

42

01010-50825

BOLT

Выбрано товаров: 48