Запчасти Komatsu PW100-3 КАБИНА (/)(№7-) ЧАСТИ КОРПУСА

Схема запчастей Komatsu PW100-3 - КАБИНА (/)(№7-) ЧАСТИ КОРПУСА
FIT
1:1
100%

Артикул

Название

Примечание

Количество

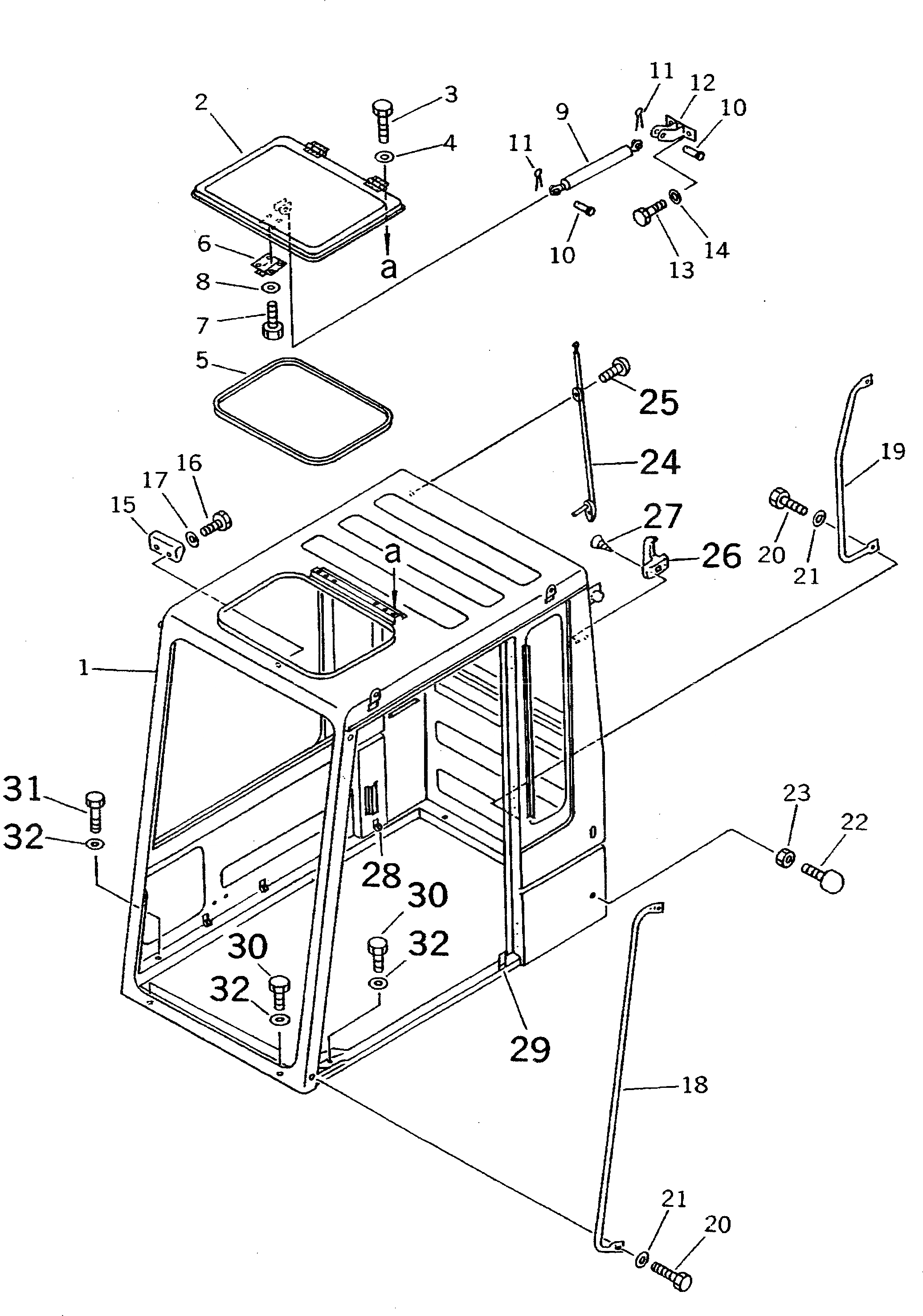
|1

20D-54-00131

OPERATOR'S CAB ASS'Y

|1

20D-54-00130

OPERATOR'S CAB ASS'Y

1

205-54-71114

CAB

2

205-54-71142

COVER

3

01010-50612

BOLT

4

01643-30623

WASHER

5

205-54-71551

SEAL

6

205-54-72470

LOCK ASS'Y

7

01010-50616

BOLT

8

01643-30623

WASHER

9

205-54-63650

GAS SPRING ASS'Y

10

04205-10825

PIN

11

04050-12012

PIN,COTTER

12

205-54-72511

BRACKET

13

01010-50616

BOLT

14

01643-30623

WASHER

15

205-54-72520

BRACKET

16

01010-50616

BOLT

17

01643-30623

WASHER

18

205-54-72531

GRIP

19

205-54-72541

GRIP

20

01010-51025

BOLT

21

01643-31032

WASHER

22

09453-00002

STOPPER

23

01580-11210

NUT

24

205-06-62350

ANTENNA ASS'Y

25

01220-40420

SCREW

26

205-54-51250

HANGER

27

01381-00416

SCREW

28

205-54-72710

CLIP

29

203-54-44980

RUBBER

30

01010-51245

BOLT

31

01010-51265

BOLT

32

01643-31232

WASHER

Выбрано товаров: 0