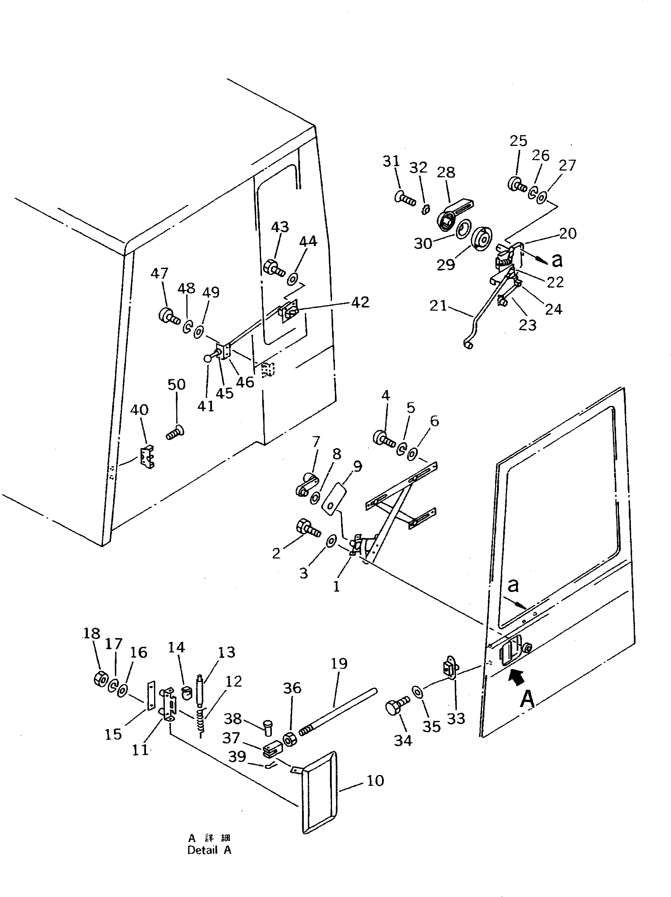
Запчасти Komatsu PW100-3 КАБИНА (/)(№7-) ЧАСТИ КОРПУСА

Схема запчастей Komatsu PW100-3 - КАБИНА (/)(№7-) ЧАСТИ КОРПУСА
FIT
1:1
100%

Артикул

Название

Примечание

Количество

|1

20D-54-00131

OPERATOR'S CAB ASS'Y

|1

20D-54-00130

OPERATOR'S CAB ASS'Y

|1

205-54-00274

DOOR ASS'Y

|1

203-54-00151

DOOR ASS'Y

1

205-54-71632

REGULATOR ASS'Y

|1

205-54-71631

REGULATOR ASS'Y

2

01010-50610

BOLT

3

01643-30623

WASHER

4

01220-40608

SCREW

5

01602-20619

WASHER,SPRING

6

01641-20608

WASHER

7

205-54-71970

HANDLE

8

566-54-24270

ESCUTCHEON

9

205-54-71780

SEAL,WATER

|10

205-54-72101

HANDLE ASS'Y

10

205-54-72111

HANDLE

11

205-54-72121

BRACKET

12

205-54-72130

SPRING

13

205-54-72140

PIN

14

205-54-72150

CUSHION

15

205-54-72160

PACKING

16

01641-20608

WASHER

17

01602-20619

WASHER,SPRING

18

01580-10605

NUT

19

205-54-76290

ROD

|20

205-54-71803

CONTROL ASS'Y

20

205-54-71812

CONTROL

21

205-54-71721

ROD

22

205-54-71830

SNAP

23

205-54-71822

ROD

24

205-54-71840

SNAP

25

01220-40610

SCREW

26

01602-20619

WASHER,SPRING

27

01641-20608

WASHER

28

205-54-71760

HANDLE

29

566-54-24260

BASE

30

566-54-24270

ESCUTCHEON

31

01225-40510

SCREW

32

205-54-71880

WASHER,LOCK

33

205-54-71710

LOCK ASS'Y

34

01010-50616

BOLT

35

01643-30623

WASHER

36

01580-10605

NUT

37

04211-20634

YOKE

38

04205-10620

PIN

39

04052-00633

PIN,SNAP

40

205-54-71731

STRIKER

41

205-54-72840

KNOB

42

20G-54-12110

LOCK ASS'Y

43

01010-50620

BOLT

44

01643-30623

WASHER

45

205-54-72830

GROMMET

46

20G-54-12120

BRACKET

47

01220-40620

SCREW

48

01602-20619

WASHER,SPRING

49

01641-20608

WASHER

50

01220-40820

SCREW

Выбрано товаров: 57