Запчасти Komatsu PW100-3 CAR СИСТЕМА ТРУБ ОХЛАЖДЕНИЯ (/)(№8-) ЧАСТИ КОРПУСА

Схема запчастей Komatsu PW100-3 - CAR СИСТЕМА ТРУБ ОХЛАЖДЕНИЯ (/)(№8-) ЧАСТИ КОРПУСА
FIT
1:1
100%

Артикул

Название

Примечание

Количество

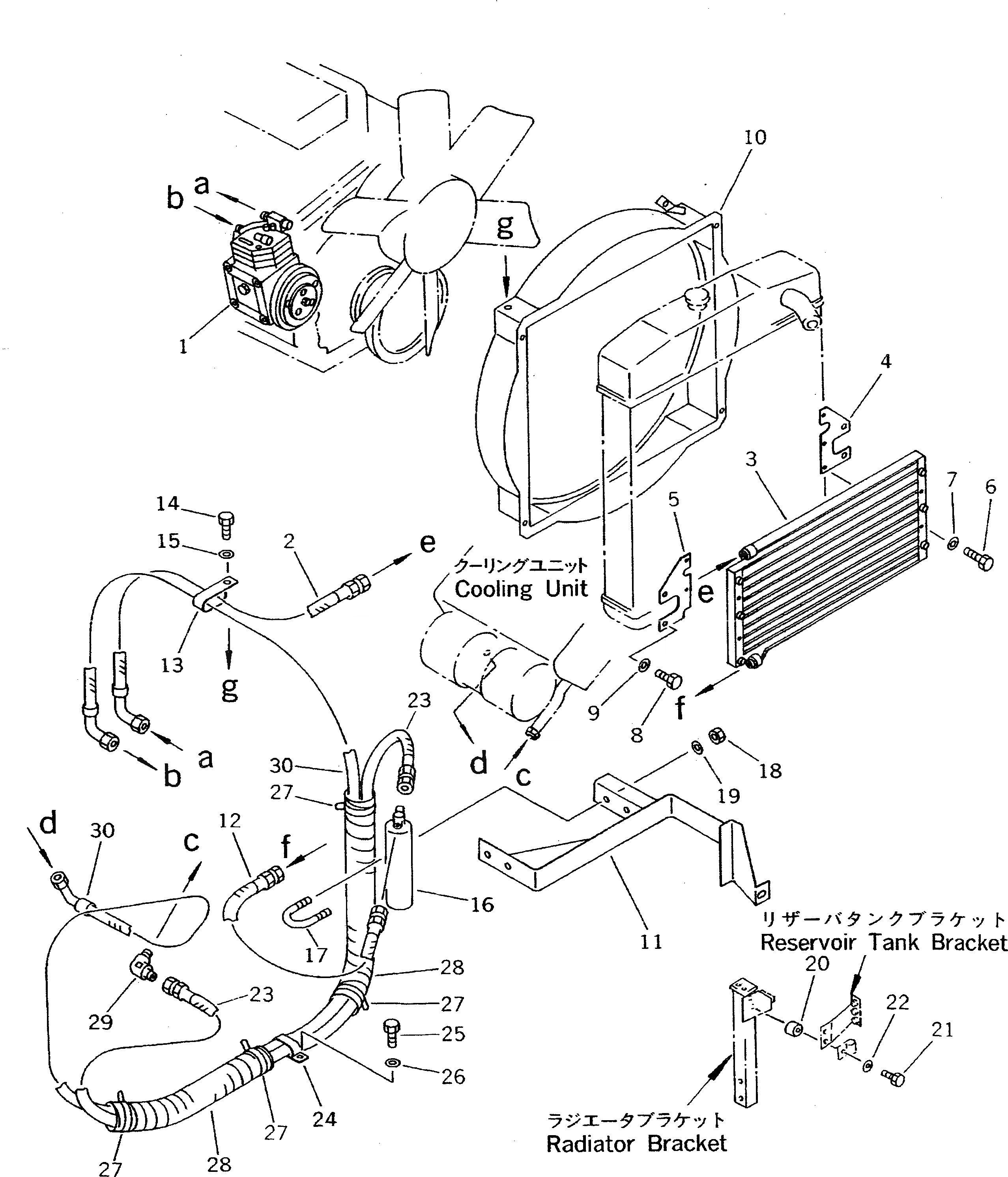
1

205-981-5130

COMPRESSOR ASS'Y

2

09488-20610

HOSE

3

203-978-4340

CONDENSER ASS'Y

4

20D-978-4430

BRACKET

5

20D-978-4420

BRACKET

6

01010-50640

BOLT

7

01602-00619

WASHER,SPRING

8

01010-51030

BOLT

9

01643-31032

WASHER

10

20D-978-4440

SHROUD,(MODIFIED FROM 20D-03-41471)

11

20D-978-4360

BRACKET

12

09488-20505

HOSE

13

421-07-11550

CLIP

14

01010-51020

BOLT

15

01643-31032

WASHER

16

566-07-11240

RECEIVER

17

07283-26155

CLIP

18

01599-01011

NUT

19

01643-31032

WASHER

20

175-79-83760

SPACER

21

01010-51045

BOLT

22

01643-31032

WASHER

23

09488-20527

HOSE

24

176-911-4170

CLIP

25

01010-51020

BOLT

26

01643-31032

WASHER

27

08034-00519

BAND

28

203-62-32440

COVER

29

205-981-5250

ELBOW

30

09488-20632

HOSE

Выбрано товаров: 30