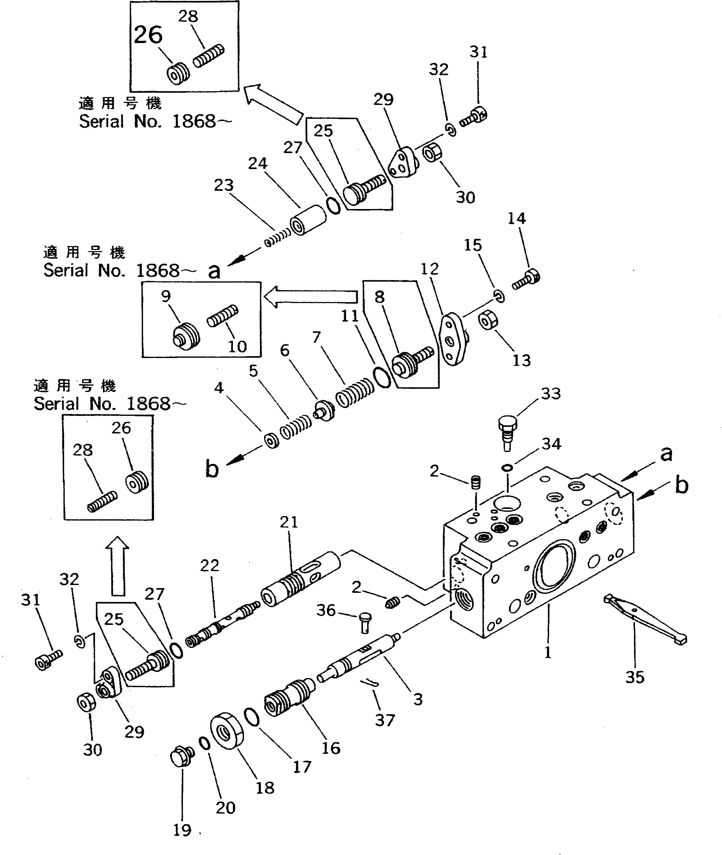
Запчасти Komatsu PW100-3 СЕРВОКЛАПАН¤ ПЕРЕДН. (/) (С OLSS) УПРАВЛ-Е РАБОЧИМ ОБОРУДОВАНИЕМ

Схема запчастей Komatsu PW100-3 - СЕРВОКЛАПАН¤ ПЕРЕДН. (/) (С OLSS) УПРАВЛ-Е РАБОЧИМ ОБОРУДОВАНИЕМ
FIT
1:1
100%

Артикул

Название

Примечание

Количество

|1

708-23-01070

PUMP ASS'Y (HPV55+55)

|1

708-23-01032

PUMP ASS'Y (HPV55+55)

|1

708-23-01030

PUMP ASS'Y (HPV55+55)

|1

708-23-10300

PUMP ASS'Y (HPV55+55)

|1

708-23-07121

SERVO VALVE ASS'Y,FRONT

|1

708-23-07120

SERVO VALVE ASS'Y,FRONT

|1

708-23-15300

SERVO VALVE ASS'Y,FRONT

|1

708-23-15200

SERVO VALVE SUB A.,FRONT

|1

708-23-07011

BODY ASS'Y

|1

708-23-07010

BODY ASS'Y

1

BODY

2

EXPANDER

|2

PLUG

3

708-25-15120

PISTON

4

708-25-15130

SEAT

5

708-23-15110

SPRING

6

708-23-15120

SEAT

7

708-23-15130

SPRING

8

708-23-15140

PLUG

9

708-23-15160

PLUG

10

708-25-15340

SCREW

11

07000-02018

O-RING

12

708-25-15150

COVER

13

01580-10806

NUT

14

708-25-15320

BOLT

|14

01252-30616

BOLT

15

01602-20619

WASHER,SPRING

16

708-25-15171

PLUG

17

07002-02034

O-RING

18

07239-12009

NUT

19

07040-11007

PLUG

20

07002-01023

O-RING

21

708-25-15180

SLEEVE

22

708-25-15280

SPOOL

23

708-25-15310

SPRING

24

708-25-15330

SPACER

|24

708-25-15290

SPACER

25

708-25-15240

PLUG

26

708-25-15430

PLUG

27

07000-02012

O-RING

28

708-25-15340

SCREW

29

708-25-15250

COVER

30

01580-10806

NUT

31

708-25-15320

BOLT

|31

01252-30616

BOLT

32

01602-20619

WASHER,SPRING

33

708-25-15260

PLUG

34

07002-00823

O-RING

35

708-23-15150

ARM

36

04205-00514

PIN

37

04050-01210

PIN,COTTER

Выбрано товаров: 51