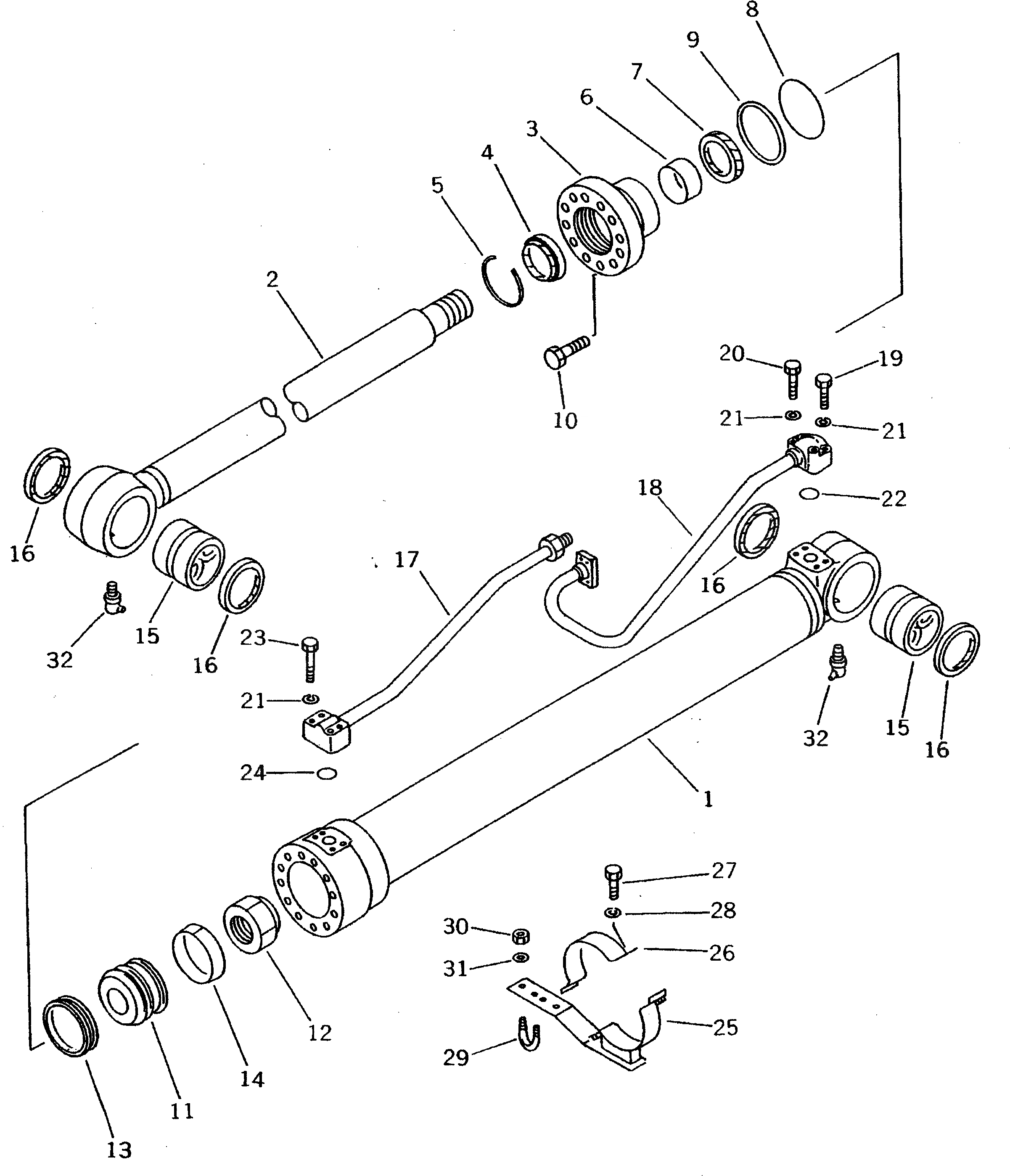
Запчасти Komatsu PW100-3 ЦИЛИНДР СТРЕЛЫ(№-) РАБОЧЕЕ ОБОРУДОВАНИЕ

Схема запчастей Komatsu PW100-3 - ЦИЛИНДР СТРЕЛЫ(№-) РАБОЧЕЕ ОБОРУДОВАНИЕ
FIT
1:1
100%

Артикул

Название

Примечание

Количество

|1

20D-63-02010

CYLINDER ASS'Y,BOOM

1

20D-63-52140

CYLINDER

2

20D-63-52120

ROD,PISTON

3

707-27-10170

HEAD,CYLINDER

4

07016-20658

SEAL,DUST

5

07179-00088

RING,SNAP

6

07177-06530

BUSHING

7

707-51-65211

PACKING,ROD

8

07000-12095

O-RING

9

07146-02096

RING,BACK-UP

10

01010-51450

BOLT

11

707-36-10261

PISTON

12

07165-14547

NUT

13

707-44-10080

RING,PISTON

14

07155-01025

RING,WEAR

15

707-76-70040

BUSHING

16

07145-00070

SEAL,DUST

17

20D-63-52170

TUBE,L.H.

|17

20D-63-52270

TUBE,R.H.

18

20D-63-52180

TUBE,L.H.

|18

20D-63-52280

TUBE,R.H.

19

01010-50845

BOLT

20

01010-50855

BOLT

21

01602-20825

WASHER,SPRING

22

07000-13030

O-RING

23

01010-50850

BOLT

24

07000-13025

O-RING

25

707-88-99030

BRACKET

26

707-88-99010

BAND

27

01010-51035

BOLT

28

01602-21030

WASHER,SPRING

29

07283-22236

CLIP

30

01599-01011

NUT

31

01643-31032

WASHER

32

07020-00675

FITTING,GREASE

Выбрано товаров: 35