Запчасти Komatsu PW100-3 ЦИЛИНДР РУКОЯТИ(№-) РАБОЧЕЕ ОБОРУДОВАНИЕ

Схема запчастей Komatsu PW100-3 - ЦИЛИНДР РУКОЯТИ(№-) РАБОЧЕЕ ОБОРУДОВАНИЕ
FIT
1:1
100%

Артикул

Название

Примечание

Количество

|1

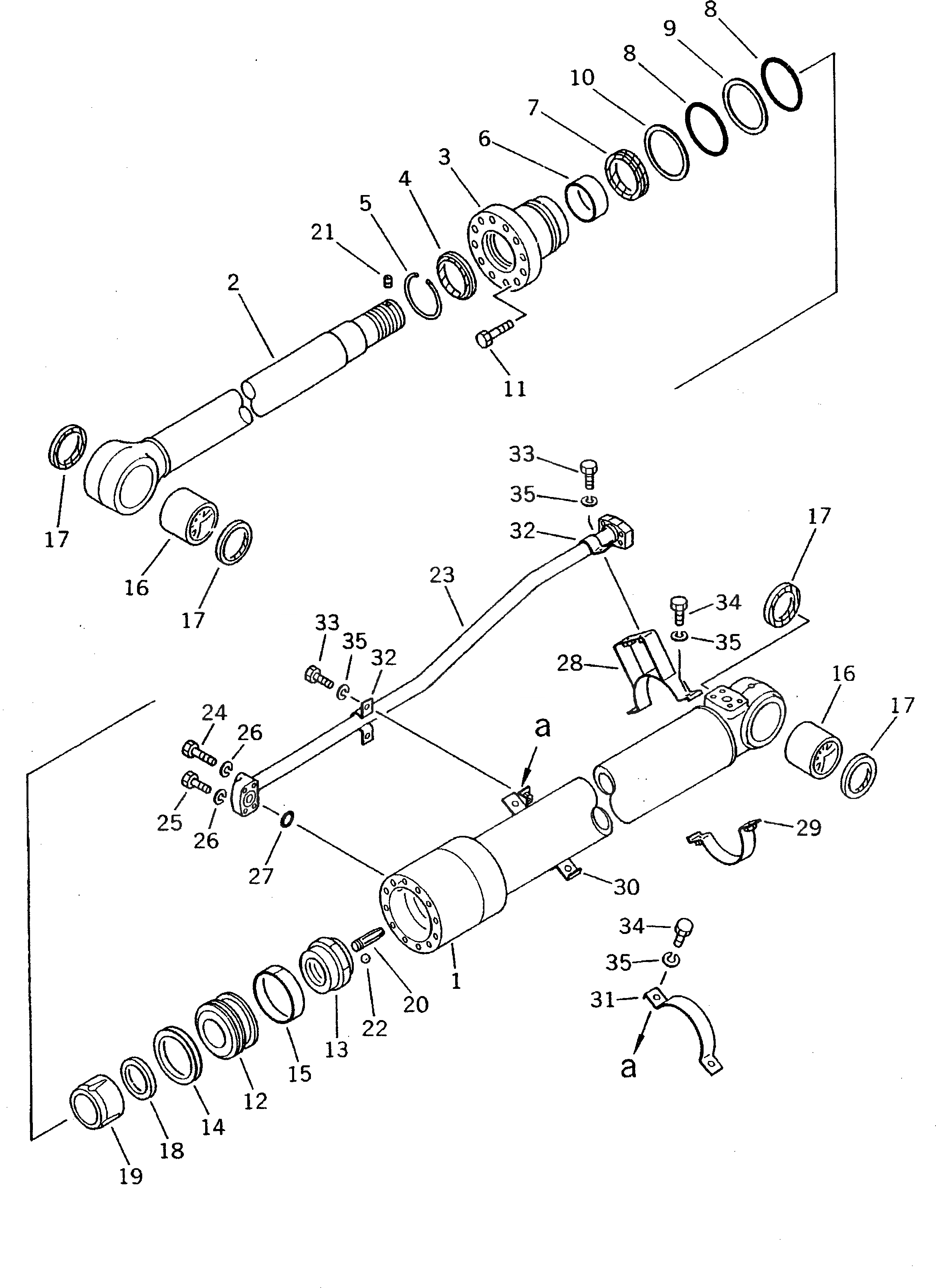
202-63-62502

ARM CYLINDER ASS'Y

|1

202-63-62500

ARM CYLINDER ASS'Y

1

202-63-62541

CYLINDER

|1

202-63-62540

CYLINDER

2

202-63-62521

ROD,PISTON

|2

202-63-62520

ROD,PISTON

3

707-28-11370

HEAD,CYLINDER

4

144-63-94170

SEAL,DUST (K8)

5

07179-00097

RING,SNAP

6

07177-07530

BUSHING

7

707-51-75211

PACKING,ROD (K8)

8

07000-12105

O-RING (K8)

9

07146-02106

RING,BACK-UP (K8)

10

707-35-91110

RING,BACK-UP (K8)

11

01010-51655

BOLT

12

707-36-11460

PISTON

13

707-68-10580

NUT

14

707-44-11080

RING,PISTON (K8)

15

07155-01125

RING,WEAR (K8)

16

707-76-70130

BUSHING

17

07145-00070

SEAL,DUST (K8)

18

707-40-11470

RETAINER

19

707-71-50880

PLUNGER

20

707-71-50231

PLUNGER

|20

707-71-50230

PLUNGER

21

707-71-91240

SCREW

|21

707-71-91250

SCREW

22

04260-00635

BALL

23

202-63-62571

TUBE

|23

202-63-62570

TUBE

24

01010-50855

BOLT

25

01010-50845

BOLT

26

01602-20825

WASHER,SPRING

27

07000-13030

O-RING (K8)

28

707-88-99150

BAND

29

707-88-99120

BAND

30

707-88-99190

BAND

31

707-88-99110

BAND

32

07282-02793

CLAMP

33

01010-51020

BOLT

34

01010-51035

BOLT

|34

01010-51030

BOLT

35

01602-21030

WASHER,SPRING

Выбрано товаров: 43