Запчасти Komatsu PW100-3 ОТВАЛ(№-) РАБОЧЕЕ ОБОРУДОВАНИЕ

Схема запчастей Komatsu PW100-3 - ОТВАЛ(№-) РАБОЧЕЕ ОБОРУДОВАНИЕ
FIT
1:1
100%

Артикул

Название

Примечание

Количество

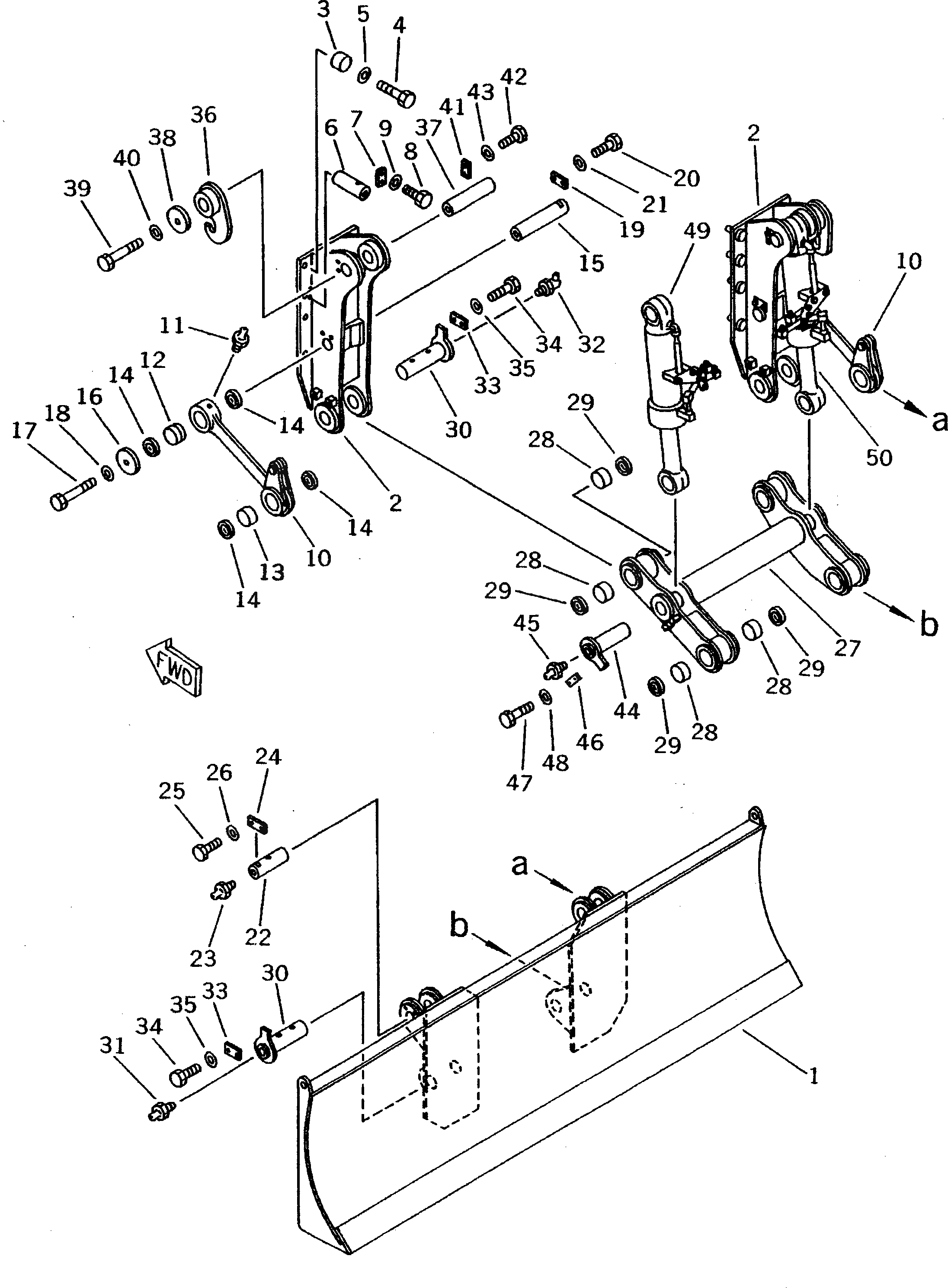
1

20D-910-4110

BLADE

2

20D-910-4410

BRACKET

3

287-46-11670

SPACER

4

01010-52490

BOLT

5

01643-32460

WASHER

6

20D-47-43130

PIN

7

04082-00212

LOCK

8

01010-51225

BOLT

9

01643-31232

WASHER

10

20D-910-4420

LINK

11

07020-00000

FITTING,GREASE

12

07144-10506

BUSHING

13

07143-10506

BUSHING

14

07145-00055

SEAL,DUST

15

20D-910-4190

PIN

16

20G-910-1180

HOLDER

17

01010-51680

BOLT

18

01643-31645

WASHER

19

04082-00212

LOCK

20

01010-51225

BOLT

21

01643-31232

WASHER

22

20D-910-4230

PIN

23

07020-00000

FITTING,GREASE

24

04082-00212

LOCK

25

01010-51225

BOLT

26

01643-31232

WASHER

27

20D-910-4160

LINK

28

07143-10504

BUSHING

29

07145-00055

SEAL,DUST

30

20D-910-4210

PIN

31

07020-00000

FITTING,GREASE

32

07020-00675

FITTING,GREASE

33

201-70-21210

PLATE

34

01010-51230

BOLT

35

01643-31232

WASHER

36

20D-910-4181

HOOK

37

20D-910-4190

PIN

38

20G-910-1180

HOLDER

39

01010-51680

BOLT

40

01643-31645

WASHER

41

04082-00212

LOCK

42

01010-51225

BOLT

43

01643-21232

WASHER

44

20D-910-4220

PIN

45

07020-00000

FITTING,GREASE

46

201-70-21210

PLATE

47

01010-51230

BOLT

48

01643-31232

WASHER

49

20D-63-96500

CYLINDER ASS'Y,L.H.

50

20D-63-96600

CYLINDER ASS'Y,R.H.

Выбрано товаров: 50