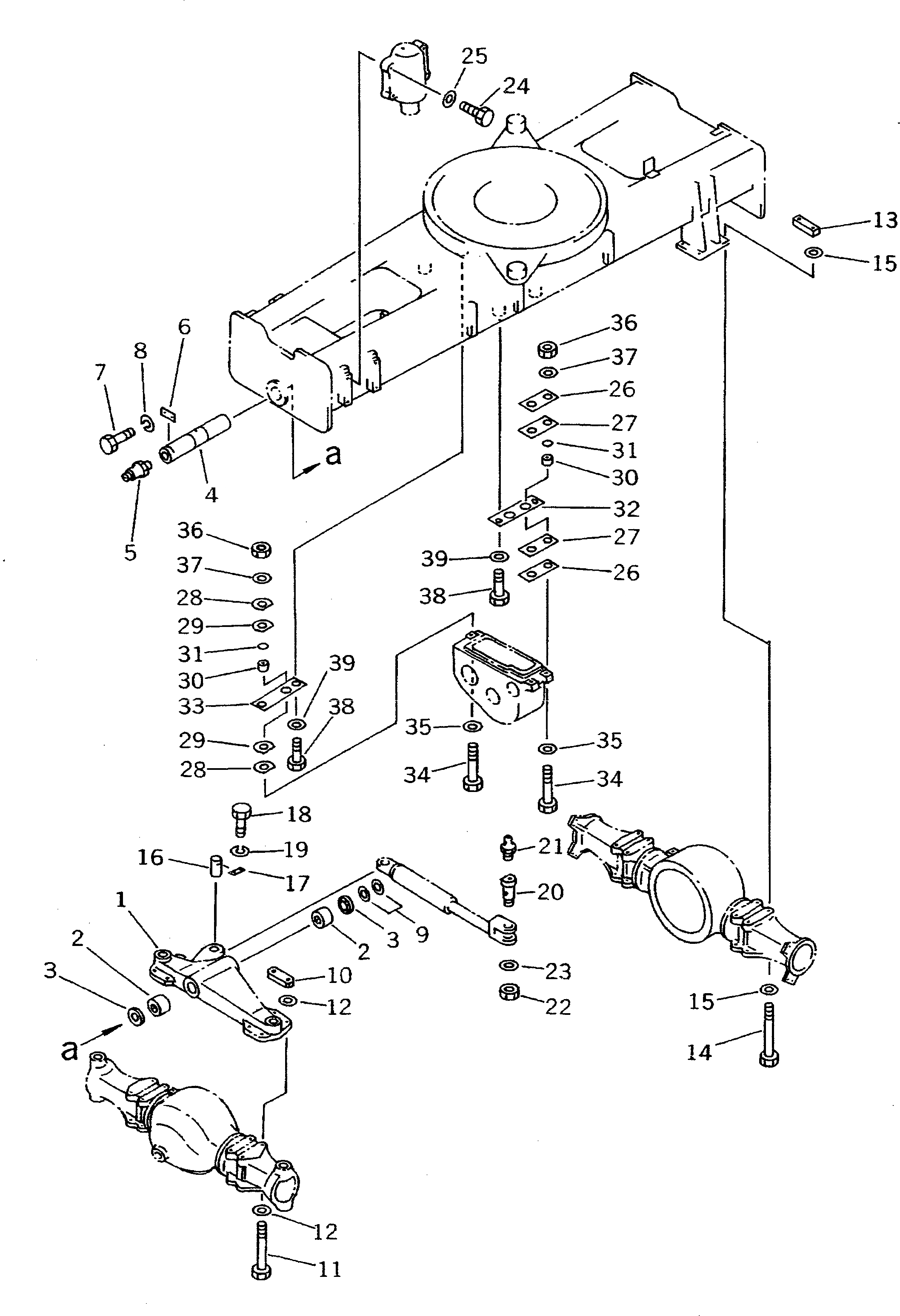
Запчасти Komatsu PW100-3 ШАССИ (/)(№-) ШАССИ¤ ТРАНСМИССИЯ¤ МОСТ¤ КОЛЕСА И ВОЗД. СИСТЕМА

Схема запчастей Komatsu PW100-3 - ШАССИ (/)(№-) ШАССИ¤ ТРАНСМИССИЯ¤ МОСТ¤ КОЛЕСА И ВОЗД. СИСТЕМА
FIT
1:1
100%

Артикул

Название

Примечание

Количество

|1

20D-47-00011

BRACKET ASS'Y

|1

20D-47-00010

BRACKET ASS'Y

|1

20G-47-00010

BRACKET ASS'Y

1

BRACKET

|1

BRACKET

|1

BRACKET

2

20G-47-12130

BUSHING

3

07145-00075

SEAL,DUST

4

20G-47-12120

PIN

5

07020-00900

FITTING,GREASE

6

04082-00514

LOCK

7

01010-51435

BOLT

8

01602-21442

WASHER,SPRING

9

202-70-48150

SPACER¤ 0.5MM

|9

202-70-48140

SPACER¤ 1.0MM

10

20G-47-11220

SEAT

11

20G-47-11210

BOLT

12

01643-32060

WASHER

13

20G-47-11230

SEAT

14

20G-47-11210

BOLT

15

01643-32060

WASHER

16

20G-47-12140

PIN

17

04082-00212

LOCK

18

01010-51225

BOLT

19

01602-21236

WASHER,SPRING

20

20G-47-12151

PIN

21

07020-00000

FITTING,GREASE

22

01598-02425

NUT

23

01643-32460

WASHER

24

01010-52490

BOLT

25

01643-32460

WASHER

26

20D-47-41330

PLATE

27

20D-47-41340

CUSHION

28

20D-47-41360

PLATE

29

20D-47-41370

CUSHION

30

20D-47-41350

COLLAR

31

07000-03032

O-RING

32

20D-47-41310

PLATE

33

20D-47-41320

PLATE

34

01011-52020

BOLT

35

01643-32060

WASHER

36

01580-12016

NUT

37

01640-22032

WASHER

38

01010-52050

BOLT

39

01643-32060

WASHER

Выбрано товаров: 45