Запчасти Komatsu PW100-3 ОПОРА(№-) ШАССИ¤ ТРАНСМИССИЯ¤ МОСТ¤ КОЛЕСА И ВОЗД. СИСТЕМА

Схема запчастей Komatsu PW100-3 - ОПОРА(№-) ШАССИ¤ ТРАНСМИССИЯ¤ МОСТ¤ КОЛЕСА И ВОЗД. СИСТЕМА
FIT
1:1
100%

Артикул

Название

Примечание

Количество

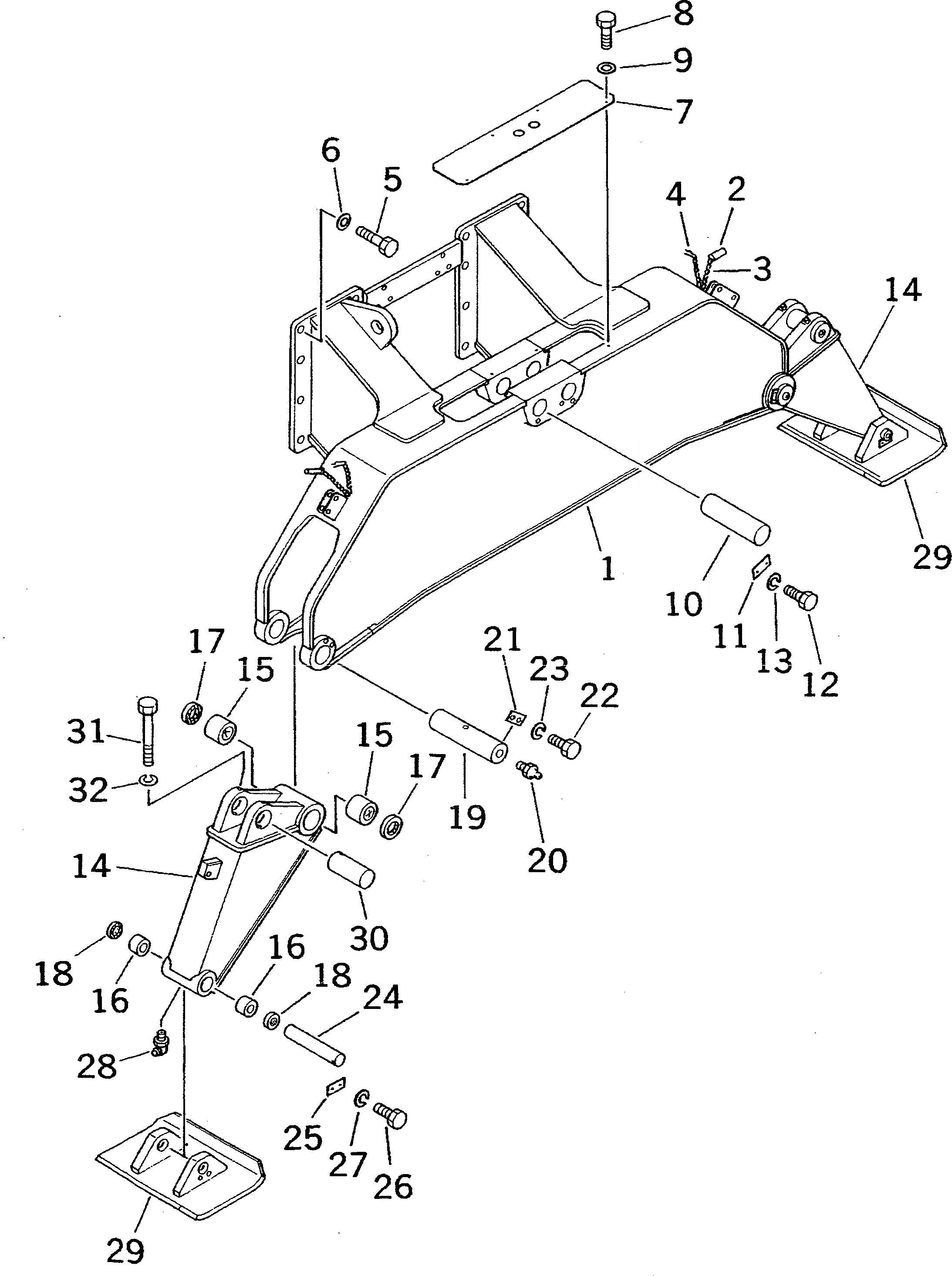
1

20E-47-13110

FRAME

2

430-43-26520

PIN

3

130-75-17160

CHAIN

4

04052-01664

PIN,SNAP

5

01010-52065

BOLT

6

01643-32060

WASHER

7

20E-47-13130

COVER

8

01010-51020

BOLT

9

01643-31032

WASHER

10

20G-47-13140

PIN

11

04082-00514

LOCK

12

01010-51435

BOLT

13

01602-21442

WASHER,SPRING

14

20E-47-13120

FRAME

15

21K-70-11210

BUSHING

16

20G-62-13180

BUSHING

17

07145-00070

SEAL,DUST

18

07145-00045

SEAL,DUST

19

20G-47-13161

PIN

20

07020-00000

FITTING,GREASE

21

04082-00514

LOCK

22

01010-51435

BOLT

23

01602-21442

WASHER,SPRING

24

20G-47-13170

PIN

25

04082-00212

LOCK

26

01010-51225

BOLT

27

01602-21236

WASHER,SPRING

28

07020-00900

FITTING,GREASE

29

20G-47-13130

BRACKET

30

20G-47-13150

PIN

31

01011-51220

BOLT

32

01602-21236

WASHER,SPRING

Выбрано товаров: 32