Запчасти Komatsu PW100N-3 ГИДРОЛИНИЯ (ДЛЯ ХОДА) (ПЕДАЛЬ TO/FROM СЕРВОКЛАПАН)(С OLSS)(№-) УПРАВЛ-Е РАБОЧИМ ОБОРУДОВАНИЕМ

Схема запчастей Komatsu PW100N-3 - ГИДРОЛИНИЯ (ДЛЯ ХОДА) (ПЕДАЛЬ TO/FROM СЕРВОКЛАПАН)    (С OLSS)(№-) УПРАВЛ-Е РАБОЧИМ ОБОРУДОВАНИЕМ
FIT
1:1
100%

Артикул

Название

Примечание

Количество

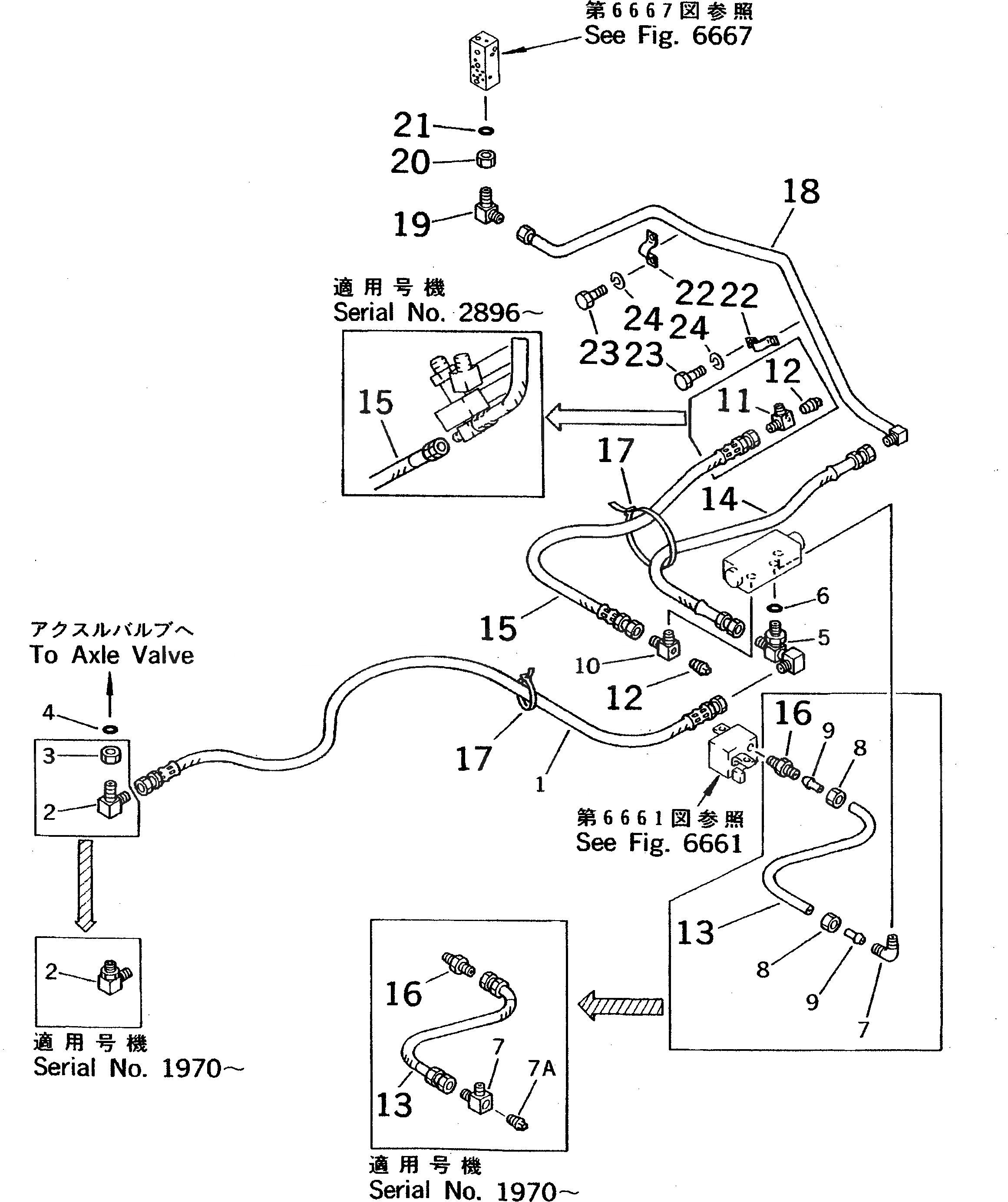
1

20D-62-42670

HOSE

2

07235-10210

ELBOW

|2

07232-20210

ELBOW

3

07239-11408

NUT

4

07002-11423

O-RING

|4

07002-01423

O-RING

5

20D-62-42150

TEE

6

07002-11423

O-RING

7

234-60-22140

ELBOW

|7

22W-61-21860

ELBOW

|7

07834-00613

ELBOW

7A

07042-00108

PLUG

8

07832-00614

NUT

9

07831-00612

SLEEVE

10

234-60-22140

ELBOW

|10

22W-61-21860

ELBOW

11

234-60-22140

ELBOW

|11

22W-61-21860

ELBOW

12

07042-00108

PLUG

13

07102-20206

HOSE

|13

07822-00606

TUBE

14

07102-20208

HOSE

15

20D-62-42680

HOSE

16

07238-00210

CONNECTOR

|16

07836-00613

CONNECTOR

17

08034-00519

BAND

18

20D-62-41391

TUBE

|18

20D-62-41390

TUBE

19

20D-62-12180

ELBOW

20

07239-11408

NUT

21

07002-11423

O-RING

22

07282-01568

CLAMP

23

01010-50825

BOLT

24

01602-20825

WASHER,SPRING

Выбрано товаров: 34