Запчасти Komatsu PW100N-3 ГИДРОЛИНИЯ (/) (ДЛЯ ОТВАЛ)(№-) УПРАВЛ-Е РАБОЧИМ ОБОРУДОВАНИЕМ

Схема запчастей Komatsu PW100N-3 - ГИДРОЛИНИЯ (/) (ДЛЯ ОТВАЛ)(№-) УПРАВЛ-Е РАБОЧИМ ОБОРУДОВАНИЕМ
FIT
1:1
100%

Артикул

Название

Примечание

Количество

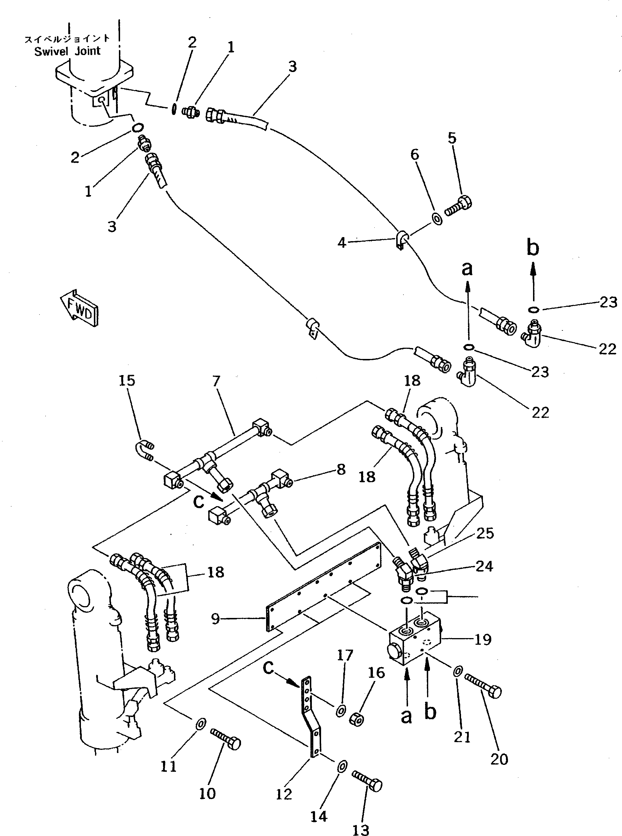
1

07230-20315

UNION

|1

07230-10315

UNION

2

07000-12034

O-RING

3

07096-00313

HOSE

4

08036-02514

CLIP

5

01010-51225

BOLT

6

01643-31232

WASHER

7

20D-910-4450

TUBE

8

20D-910-4460

TUBE

9

20D-910-4430

PLATE

10

01010-51025

BOLT

11

01643-31032

WASHER

12

20D-910-4440

PLATE

13

01010-51020

BOLT

14

01643-31032

WASHER

15

07283-22236

CLIP

16

01599-01011

NUT

17

01643-31032

WASHER

18

07121-20404

HOSE

19

20D-60-11900

CHECK VALVE ASS'Y

20

01010-50870

BOLT

21

01643-30823

WASHER

22

20R-62-11440

ELBOW

23

07002-12434

O-RING

24

22X-62-16270

ELBOW

25

124-49-32341

ELBOW

26

07002-12434

O-RING

Выбрано товаров: 27