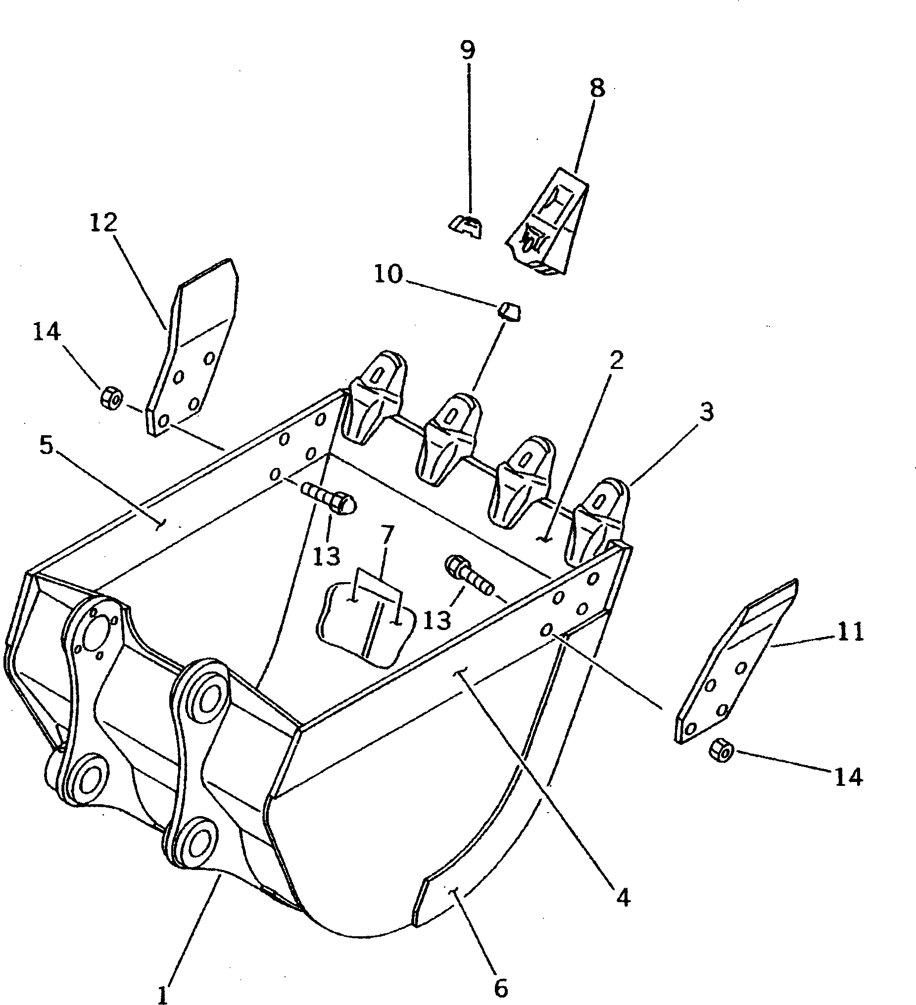
Запчасти Komatsu PW100N-3 КОВШ¤ .M ШИР. 8MM(№8-) РАБОЧЕЕ ОБОРУДОВАНИЕ

Схема запчастей Komatsu PW100N-3 - КОВШ¤ .M ШИР. 8MM(№8-) РАБОЧЕЕ ОБОРУДОВАНИЕ
FIT
1:1
100%

Артикул

Название

Примечание

Количество

|1

202-70-00531

BUCKET ASS'Y

1

202-70-63113

BUCKET

2

202-70-63121

PLATE (WELDED)

3

202-70-63190

ADAPTER (WELDED)

4

202-70-63132

PLATE,L.H. (WELDED)

5

202-70-63142

PLATE,R.H. (WELDED)

6

202-70-63250

PLATE (WELDED)

7

202-70-63241

PLATE (WELDED)

|7

202-70-63240

PLATE (WELDED)

8

205-70-74272

TOOTH

|8

203-70-43230

TOOTH,(FOR LONG LIFE)

9

205-70-74281

PIN

10

205-70-74291

LOCK

11

202-70-63161

CUTTER,L.H.

12

202-70-63171

CUTTER,R.H.

13

208-32-11231

BOLT

14

01803-02228

NUT

Выбрано товаров: 17