Запчасти Komatsu PW100N-3 ШАССИ (/)(№97-) ШАССИ¤ ТРАНСМИССИЯ¤ МОСТ¤ КОЛЕСА И ВОЗД. СИСТЕМА

Схема запчастей Komatsu PW100N-3 - ШАССИ (/)(№97-) ШАССИ¤ ТРАНСМИССИЯ¤ МОСТ¤ КОЛЕСА И ВОЗД. СИСТЕМА
FIT
1:1
100%

Артикул

Название

Примечание

Количество

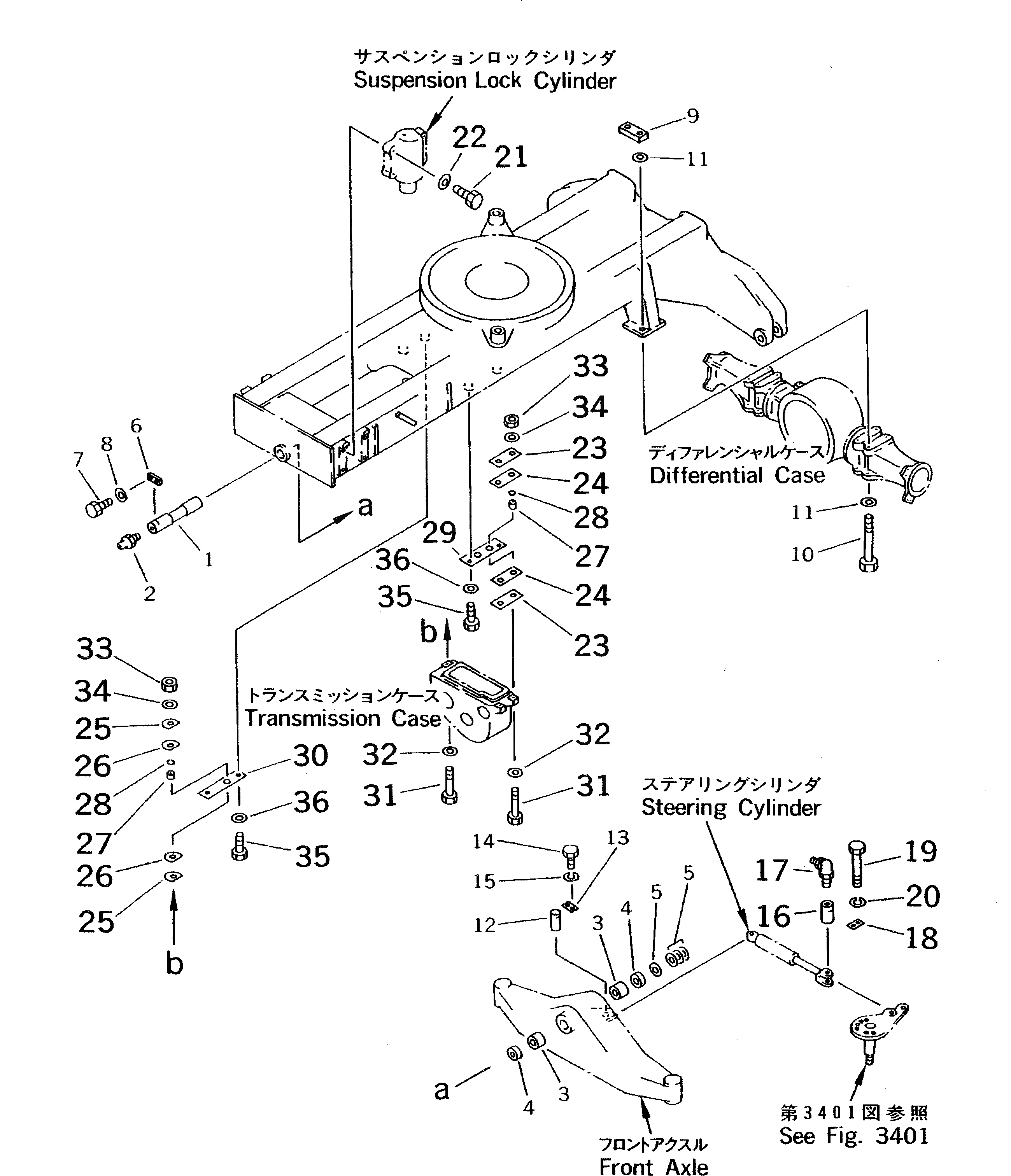
1

20D-47-11210

PIN

2

07020-00000

FITTING,GREASE

3

20D-47-11220

BUSHING

4

07145-00065

SEAL,DUST

5

202-70-48150

SPACER¤ 0.5MM

|5

202-70-48140

SPACER¤ 1.0MM

6

04082-00312

LOCK

7

01010-51230

BOLT

8

01643-31232

WASHER

9

20G-47-11230

SEAT

10

20G-47-11210

BOLT

11

01643-32060

WASHER

12

20G-47-12140

PIN

13

04082-00212

LOCK

14

01010-51225

BOLT

15

01602-21236

WASHER,SPRING

16

20D-47-41681

PIN

17

07020-00900

FITTING,GREASE

18

20D-47-41691

PLATE

19

01010-51230

BOLT

20

01602-21236

WASHER,SPRING

21

01010-52490

BOLT

22

01642-32460

WASHER

23

20D-47-41330

PLATE

24

20D-47-41340

CUSHION

25

20D-47-41360

PLATE

26

20D-47-41370

CUSHION

27

20D-47-41350

COLLAR

28

07000-03032

O-RING

29

20D-47-41270

PLATE

30

20D-47-41320

PLATE

31

01011-52020

BOLT

32

01643-32060

WASHER

33

01580-12016

NUT

34

01640-22032

WASHER

35

01010-52050

BOLT

36

01643-32060

WASHER

Выбрано товаров: 37