Запчасти Komatsu PW100N-3 ТРАНСМИССИЯ (/) ШАССИ¤ ТРАНСМИССИЯ¤ МОСТ¤ КОЛЕСА И ВОЗД. СИСТЕМА

Схема запчастей Komatsu PW100N-3 - ТРАНСМИССИЯ (/) ШАССИ¤ ТРАНСМИССИЯ¤ МОСТ¤ КОЛЕСА И ВОЗД. СИСТЕМА
FIT
1:1
100%

Артикул

Название

Примечание

Количество

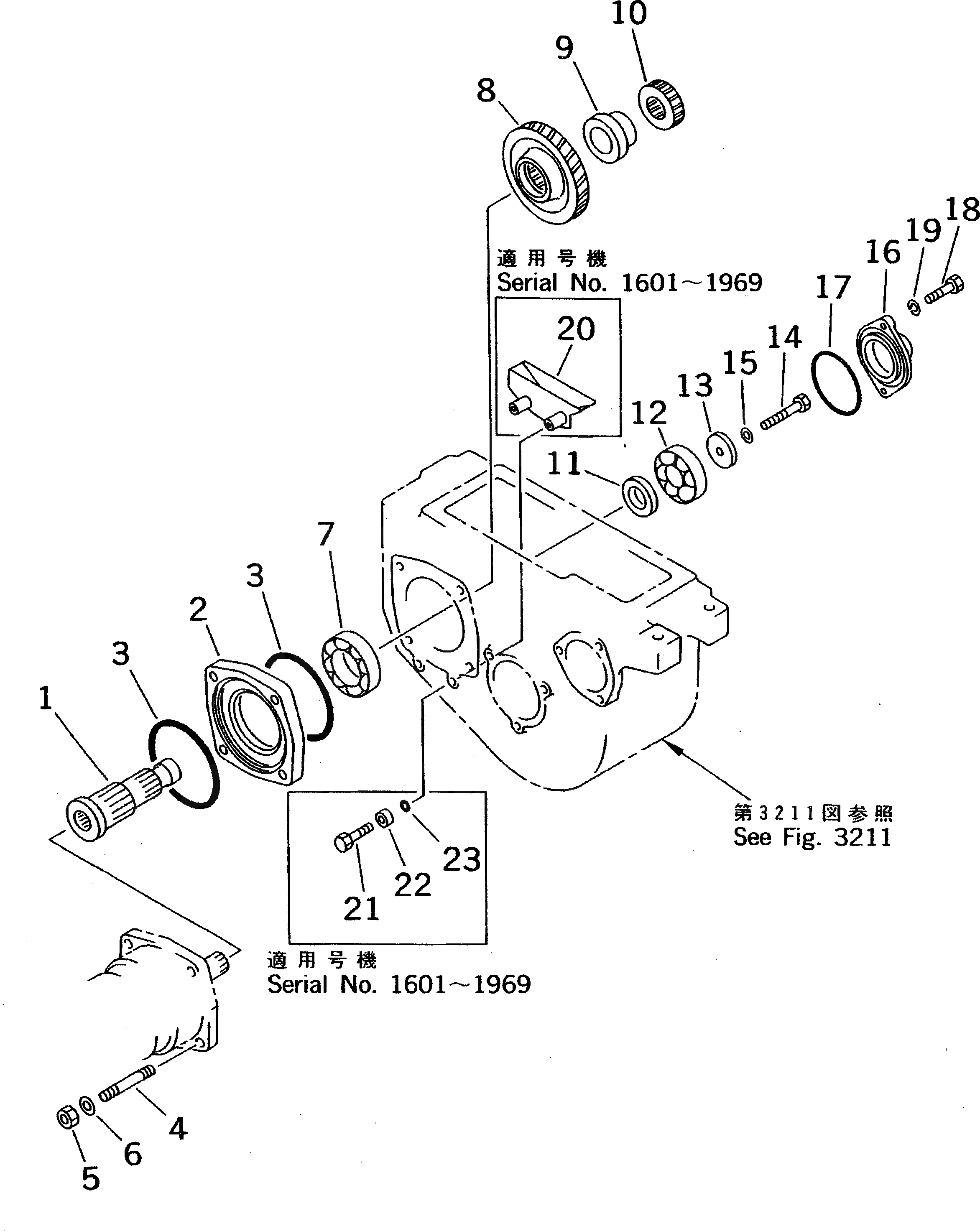
|1

20D-14-00033

TRANSMISSION ASS'Y

|1

20D-14-00032

TRANSMISSION ASS'Y

|1

20D-14-00031

TRANSMISSION ASS'Y

|1

20D-14-00030

TRANSMISSION ASS'Y

1

20D-14-41410

SHAFT

2

20D-14-41220

SPACER

3

07000-05165

O-RING

4

01144-51670

STUD

5

01580-11613

NUT

6

01643-31645

WASHER

7

06044-00212

BEARING,ROLLER

8

20D-14-41370

GEAR

|8

20D-14-41310

GEAR

9

20D-14-41420

SPACER

10

20D-14-41330

GEAR

11

20G-14-12140

COLLAR

12

06040-06308

BEARING,BALL

13

362-15-13270

PLATE

14

01050-51275

BOLT

15

01643-31232

WASHER

16

20G-14-12160

COVER

|16

20D-14-41240

COVER

17

07000-02100

O-RING

|17

07000-02105

O-RING

18

01010-51030

BOLT

19

01602-21030

WASHER,SPRING

20

20D-14-41461

COVER

21

01090-51035

BOLT

22

113-15-21260

WASHER

23

07002-01023

O-RING

Выбрано товаров: 30