Запчасти Komatsu PW100N-3 РАБОЧЕЕ ОБОРУДОВАНИЕ УПРАВЛ-Е КОРПУС СИСТЕМА УПРАВЛЕНИЯ И ОСНОВНАЯ РАМА

Схема запчастей Komatsu PW100N-3 - РАБОЧЕЕ ОБОРУДОВАНИЕ УПРАВЛ-Е КОРПУС СИСТЕМА УПРАВЛЕНИЯ И ОСНОВНАЯ РАМА
FIT
1:1
100%

Артикул

Название

Примечание

Количество

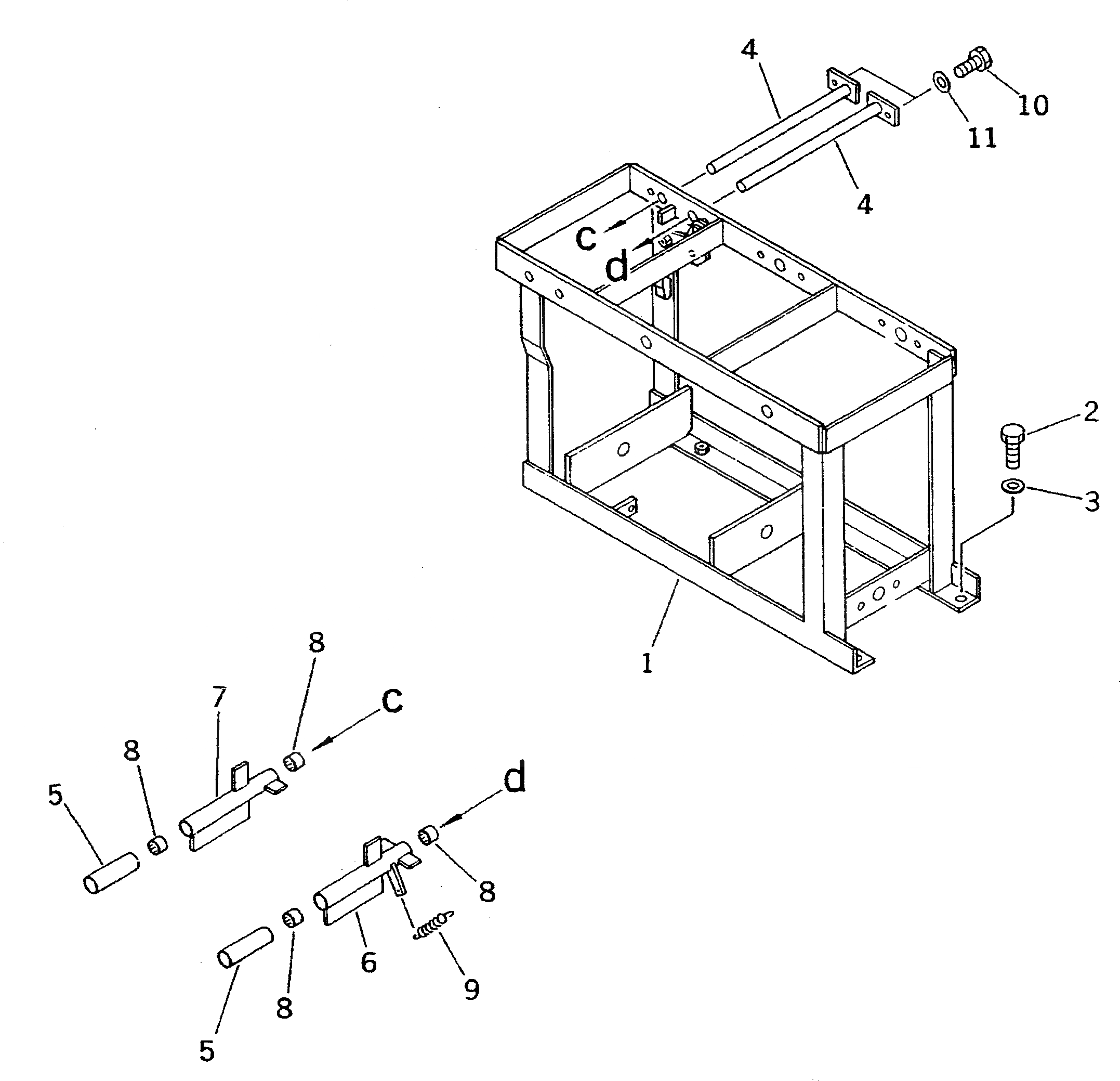
1

20D-43-41371

BRACKET

2

01010-51225

BOLT

3

01643-31232

WASHER

4

203-43-42530

SHAFT

5

20D-43-41270

PIPE

6

20D-43-41230

LEVER

7

20D-43-41290

LEVER

8

203-43-31420

BUSHING

9

203-43-43230

SPRING

10

01010-51016

BOLT

11

01643-31032

WASHER

Выбрано товаров: 11